Diagram Database

Posted by on 2020-12-30

Wiring Diagram For Whirlpool Dishwasher

CETNIEWO2017.VILOGDANSK.EU

Wiring Diagram For Whirlpool Dishwasher

  • Whirlpool Dishwasher
  • Date : December 30, 2020
  • Downloaded : 6806 times

Wiring Diagram For Whirlpool Dishwasher Whats New

Diagram For

Downloads Wiring Diagram For Whirlpool Dishwasher diagram for kids diagram for photosynthesis diagram for floor plans diagram for trailer lights diagram for pruning fruit trees diagram for kenmore elite dishwasher diagram for diagram ford diagram form diagram forces diagram for deck belt spx snapper mower diagram for pc diagram for deck diagram for hr diagram for n2 diagram for ppt diagram for bmp diagram for ch4 diagram for cmp diagram for co2 diagram for h2o diagram for mac

  • Whirlpool Parts Whirlpool Gold Dishwasher Parts Diagram

  • Whirlpool Dishwasher Wiring Diagram

  • 301 Moved Permanently

  • Tub Diagram U0026 Parts List For Model Du8300xt4 Whirlpool

  • Whirlpool Du6000xr1 Timer

  • Upper Dishrack And Water Feed Diagram U0026 Parts List For

  • 301 Moved Permanently

  • Whirlpool Portable Dishwasher Parts

  • Whirlpool Dishwasher Wiring Diagram

  • Whirlpool Dishwasher Parts

  • Whirlpool Dishwasher Kudc25chss1 Parts List

  • Whirlpool Dishwasher Parts

  • Dishrack Diagram U0026 Parts List For Model Du915pwkq0

  • 301 Moved Permanently

  • Whirlpool Dishwasher Parts

  • Whirlpool Gu940scgb2 Dishwasher Parts

  • Whirlpool Du8950xy2 Timer

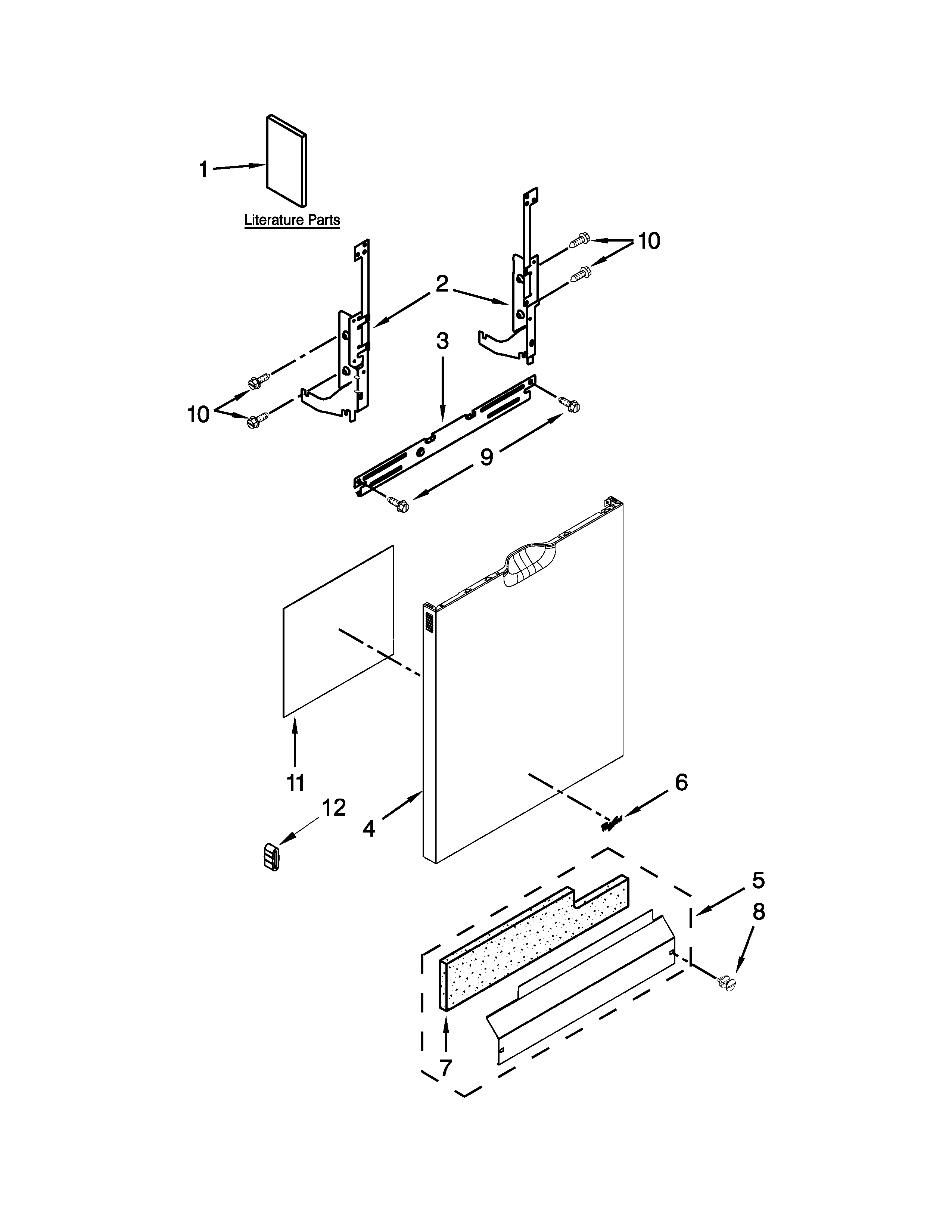
  • Door Diagram U0026 Parts List For Model Du3003xl0 Whirlpool

  • 301 Moved Permanently

  • Whirlpool Gold Dishwasher Water Does Not Drain Out At End

  • Tub Parts Diagram U0026 Parts List For Model Gu3100xtvq0

  • Whirlpool Gold Dishwasher Parts Diagram

  • Tub And Frame Parts Diagram U0026 Parts List For Model

  • 301 Moved Permanently

  • Best Helpful Diy Tips To Keep Your Dishwasher Running

  • Whirlpool Dishwasher

  • Troubleshooting A Leaking Whirlpool Dishwasher Updated

  • Inner Door Diagram U0026 Parts List For Model Du915pwkb0

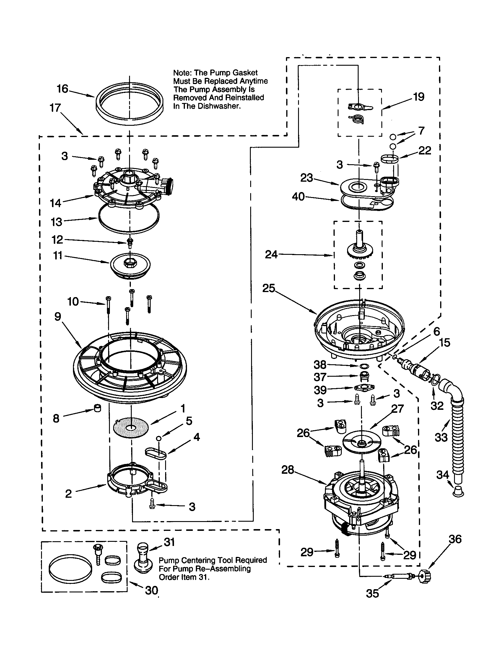
  • Pump And Motor Parts Diagram U0026 Parts List For Model

  • Parts For Whirlpool Du943pwkb0 Upper Dishrack And Water

  • Parts For Whirlpool Gu980scgt2 Upper Dishrack And Water

  • Dishwasher Motors

  • Maytag Mdb6000awa Timer

  • Wiring Diagram For Amana Dryer

  • Whirlpool 8318218 Housing Float Switch

  • Wiring Diagram 32 Whirlpool Dishwasher Parts Diagram

  • Whirlpool Gold Dishwasher Parts Diagram

  • 301 Moved Permanently

  • Tub And Frame Parts Diagram U0026 Parts List For Model

  • Bestseller Whirlpool Dishwasher Manual Quiet Partner Iii

  • I Have A Whirlpool Gu980scgq2 Dishwasher There Is Water

  • Inner Door Parts Diagram U0026 Parts List For Model

  • Door And Toe Panel Diagram U0026 Parts List For Model

  • Whirlpool Model Gu2275xtvy3 Dishwasher Genuine Parts

  • Whirlpool Dishwasher Parts

  • Whirlpool Wpy912709 Dishwasher Tine Clip

  • Whirlpool Dishwasher Manuals

  • Whirlpool Model Wdf760sadb2 Dishwasher Genuine Parts

  • Whirlpool Dishwasher Du811swpu3 Parts List

  • Pump And Motor Parts Diagram U0026 Parts List For Model

  • Parts For Wdt790slym1

Copyright © 2020 - CETNIEWO2017.VILOGDANSK.EU


1937 Comments