Diagram Database

Posted by on 2020-12-30

Wiring Diagram For 2004 Dodge Durango

CETNIEWO2017.VILOGDANSK.EU

Wiring Diagram For 2004 Dodge Durango

  • Dodge Durango
  • Date : December 30, 2020
  • Downloaded : 7106 times

Wiring Diagram For 2004 Dodge Durango Whats New

Diagram For 2004

Downloads Wiring Diagram For 2004 Dodge Durango fuse diagram for 2004 vw jetta wire diagram for 2004 kia rio wire diagram for 2004 chevy silverado truck diagram for 2004 dodge 1500 diagram for 2004 dodge durango 5.7

  • 2004 Dodge Durango Serpentine Belt Routing And Timing Belt

  • 2004 Dodge Durango Fuse Box Diagram

  • 2004 Dodge Durango Serpentine Belt Routing And Timing Belt

  • 2004 Dodge Durango Engine Diagram

  • 2004 Dodge Durango Engine Diagram

  • 2004 Dodge Durango Fuse Box Diagram With Images

  • 2004 Dodge Durango Limited Need Inside Fuse Panel Diagram

  • 2004 Dodge Durango Engine Diagram

  • 2004 Dodge Durango Engine Diagram

  • 2004 Dodge Durango Wiring Diagram

  • I Need The Fuse Box Diagram For A 2004 Dodge Durango Or

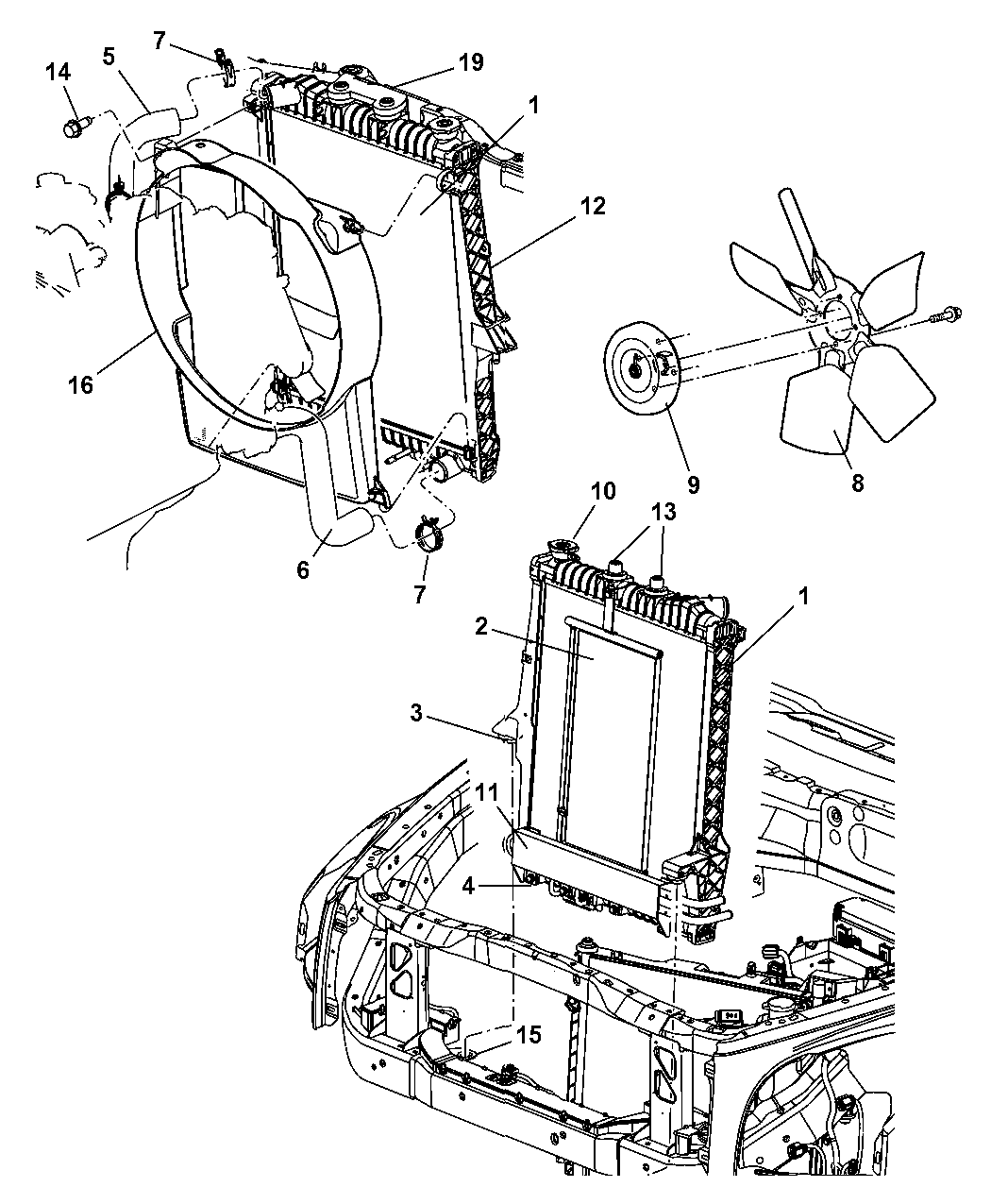
  • 56049419ah

  • 2004 Dodge Durango 4 7 Power Leaving Relay But None At Pump

  • 29 2004 Dodge Durango Serpentine Belt Diagram

  • 56049270ah

  • I Need A Drive Belt Diagram For 2004 Dodge Durango With

  • 4885482aa

  • 2004 Dodge Durango Engine Diagram

  • 2004 Dodge Durango Fuse Box Diagram

  • Need A Diagram For The Inside Fuse Box For A Dodge Durango

  • 55362125aa

  • 2004 Dodge Durango Serpentine Belt Routing And Timing Belt

  • 2004 Dodge Durango Engine Diagram

  • Dodge Durango Questions

  • 2004 Dodge Durango Engine Diagram

  • 52029058ab

  • 52113261ab

  • 2004 Durango Wiring Diagram

  • 2004 Dodge Durango Fuse Box Diagram

  • 2005 Dodge Durango Interior Fuse Box Diagram

  • 33 2000 Dodge Dakota Fuse Box Diagram

  • 55057134aa

  • 2004 Dodge Dakota Radio Wiring Diagram

  • Fuses And Relays Box Diagram Dodge Durango 2

  • Dodge Durango Wiring Diagram 2004-2009 Download

  • 2004 Dodge Durango Engine Diagram

  • 2004 Dodge Durango Engine Diagram

  • 2005 Dodge Durango Interior Fuse Box Diagram

  • 29 2004 Dodge Durango Serpentine Belt Diagram

  • I Have A 2004 Dodge Durango With A 4 7 Motor I Was Using

  • 2004 Dodge Durango Serpentine Belt Routing And Timing Belt

  • 2004 Dodge Durango Trailer Wiring Diagram

  • 5103428aa C Line

  • 2004 Dodge Durango Serpentine Belt Routing And Timing Belt

  • 2004 Dodge Durango Hinge Hood Right Release Mopar

Copyright © 2020 - CETNIEWO2017.VILOGDANSK.EU


1937 Comments