Diagram Database

Posted by on 2020-12-30

Wiring Diagram For 1989 Jeep Grand Wagoneer

CETNIEWO2017.VILOGDANSK.EU

Wiring Diagram For 1989 Jeep Grand Wagoneer

  • Grand Wagoneer
  • Date : December 30, 2020
  • Downloaded : 6684 times

Wiring Diagram For 1989 Jeep Grand Wagoneer Whats New

Diagram For 1989 Jeep

Downloads Wiring Diagram For 1989 Jeep Grand Wagoneer wiring diagram for a 1989 jeep wrangler wiring diagram for 1989 jeep wrangler serpentine belt diagram for 1989 jeep yj 4.2

  • 1989 Jeep Grand Wagoneer Mag Pu

  • 1989 Jeep Grand Wagoneer Wiring Diagram

  • 1989 Jeep Wrangler 42 Vacuum Diagram

  • Jeep Cherokee Wagoneer 1989 Under Dash Electrical Circuit

  • 1989 Jeep Grand Wagoneer Fuse Box In 2020

  • 1989 Jeep Grand Wagoneer Wiring Diagram

  • 89 Grand Wagoneer Rear Wiper Retrofit

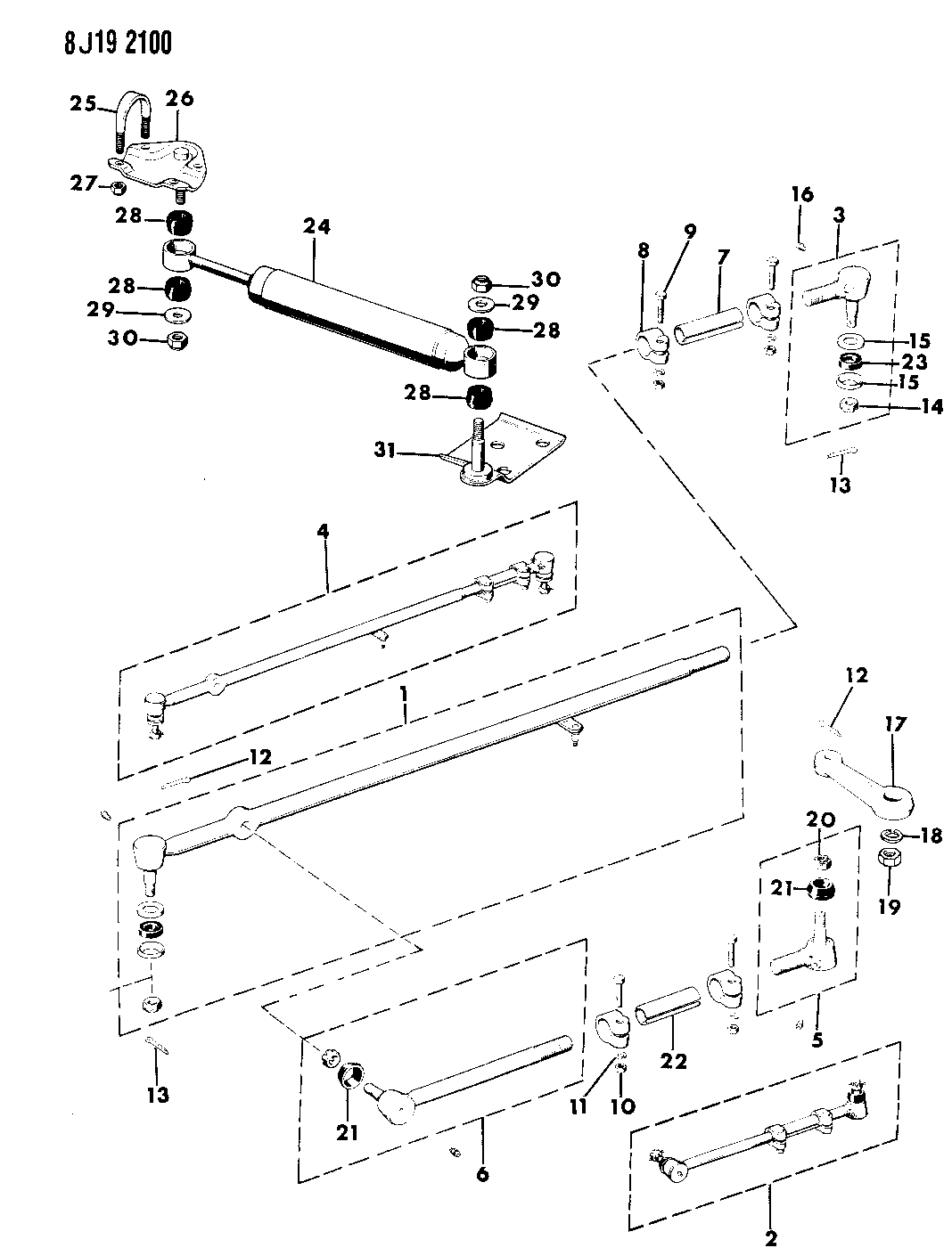
  • 1989 Jeep Grand Wagoneer Linkage U0026 Damper

  • 1989 Jeep Switch Thermal Vacuum Switch Vacuum Us

  • Grand Wagoneer J10 J20 Body Section Group Numbers For

  • Jeep Grand Wagoneer 1989-1991 Fuse Box Diagrams

  • 1989 Jeep Grand Wagoneer Door Control

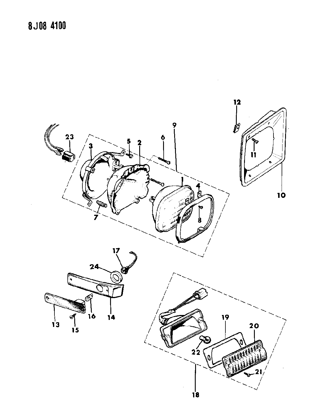
  • 1989 Jeep Grand Wagoneer Lamps - Front

  • 1989 Jeep Cherokee Fuse Panel

  • J3222290

  • 83503186

  • 1989 Jeep Cherokee Wagoneer Fuse Box Diagram U2013 Circuit

  • U0026 39 Oljeep U0026 39 Fsj Vacuum Layout Page

  • U0026 39 Oljeep U0026 39 Fsj Vacuum Layout Page

  • Repair Guides

  • Repair Guides

  • Inventory

  • Jeep Grand Wagoneer Hood Insulation Pad Clip 1981

  • U0026 39 Oljeep U0026 39 Fsj Vacuum Layout Page

  • U0026 39 Oljeep U0026 39 Fsj Vacuum Layout Page

  • 1991 Jeep Grand Wagoneer Wiring

  • Need Diagram For Front Axle Vacuum Line

  • U0026 39 87 Gw Vacuum Diagram Needed

  • Nut Inner Nut W Pin Jeep Grand Wagoneer 1984

  • 1984 Grand Wagoneer Wiring Diagram

  • Troubled Child Fsj V8 Vacuum Routing

  • 1984 Jeep Gw Diagrams

  • 1984 Grand Wagoneer Wiring Harness

  • Custom Linkage On My 1984 4 U00d74

  • 1989 Jeep Cherokee 1989 Jeep Cherokee All Of A Sudden The

  • 55005383

  • 1989 Jeep Grand Wagoneer Housing

  • Transfer Case - Command Trac Diagnosis 1984

  • Jeep Wagoneer Adapter 4 Cylinder Gas Carburetor Inlet

  • Front Turn Signals Don U0026 39 T Work

  • Jeep Wagoneer Armature Jeep

  • Jeep Grand Wagoneer Recovery Tank Bracket 4 0 Liter 5 2

  • 1986 Jeep Wagoneer Wiring Diagram

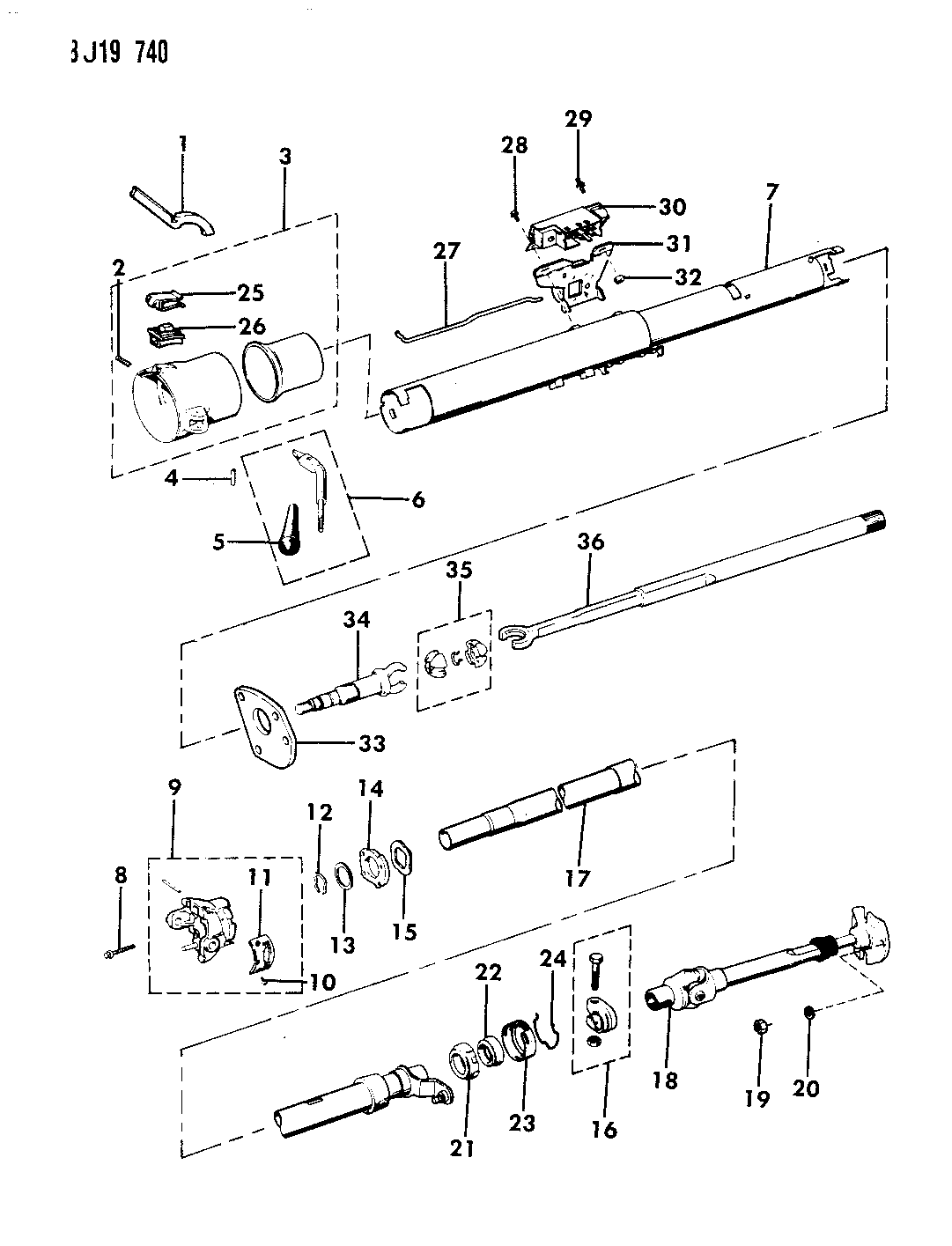
  • 1989 Jeep Grand Wagoneer Pump Mounting

  • 1989 Jeep Cherokee Ignition Switch Wiring Diagram

  • Jeep Grand Wagoneer Wiring Harnes

  • 1986 Jeep Wagoneer Wiring Diagram

  • 33 1989 Jeep Wrangler 4 2 Vacuum Diagram

  • 1989 Jeep Wagoneer Cable Speedometer U0026 Pinion Of Manual

  • 1989 Jeep Require Vacume Hose Diagram Liter Wheel Drive

  • Jeep Grand Wagoneer Air Filter

Copyright © 2020 - CETNIEWO2017.VILOGDANSK.EU


1937 Comments