Diagram Database

Posted by on 2020-12-29

Wiring Diagram 2003 Dodge Ram 1500

CETNIEWO2017.VILOGDANSK.EU

Wiring Diagram 2003 Dodge Ram 1500

  • Ram 1500
  • Date : December 29, 2020
  • Downloaded : 6745 times

Wiring Diagram 2003 Dodge Ram 1500 Whats New

Diagram 2003 Dodge

Downloads Wiring Diagram 2003 Dodge Ram 1500 diagram of a 2003 dodge ram 1500 4.7 engine diagram of 2003 dodge stratus 2.4 wiring diagram for 2003 dodge grand caravan wiring diagram for 2003 dodge intrepid wiring diagram for 2003 dodge ram 1500 fuse diagram for 2003 dodge ram 1500 2003 dodge ram 1500 wiring diagram 2003 dodge ram 1500 trailer wiring diagram 2003 dodge ram 1500 towing wiring diagram wiring diagram for 2003 dodge ram 1500

  • 2003 Dodge Ram 1500 Parts Diagram

  • 2003 Dodge Ram 1500 O Ring A C Liquid Line Used For A C

  • 2003 Dodge Ram 1500 Panel Front Bumper Air Close Out

  • 2003 Dodge Ram 1500 Fuse Box Diagram U2013 Diagram Update

  • 2003 Dodge Ram 1500 Speaker Door Front Infinity

  • 2003 Dodge Ram 1500 Fuse Box Diagram U2013 Diagram Update

  • 2003 Dodge Ram 1500 Modules

  • 2003 Dodge Ram 1500 Clip Motor Drivers Coupler Air

  • 2003 Dodge Ram 1500 Parts Diagram

  • 2002 Dodge Ram 1500 Parts Diagram

  • 35 2003 Dodge Ram 1500 Wiring Harness Diagram

  • 2003 Dodge Ram 1500 Fuse Box Diagram U2013 Diagram Update

  • Can I Get The Wiring Diagram For The Radio In A 2003 Dodge

  • 55077221ab

  • Can I Get The Wiring Diagram For The Radio In A 2003 Dodge

  • 2003 Dodge Ram 1500 Wiring Harness Diagram

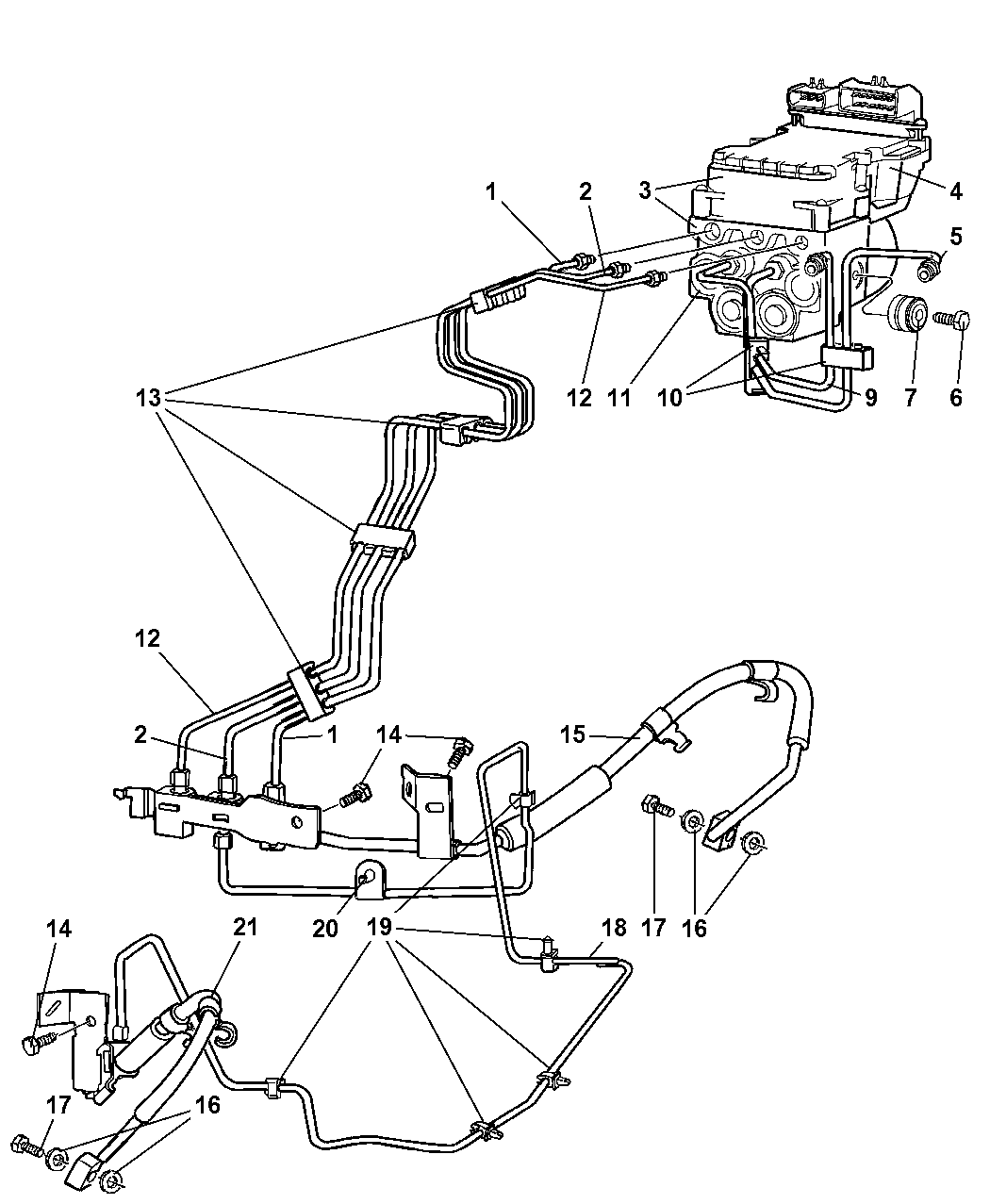
  • 2003 Dodge Ram 1500 Bundle Fuel Line Turboall

  • Can I Get The Wiring Diagram For The Radio In A 2003 Dodge

  • Diagram 2001 Ram 1500 Wiring Diagram Full Version Hd

  • I Have A 2003 Dodge Ram 1500 Pickup No Power Windows Or

  • Diagram 1994 Dodge Ram 3500 Wiring Diagram Full Version

  • 2003 Dodge Ram Vacuum Diagram

  • 2003 Dodge Ram 1500 Parts Diagram

  • Wiring Diagram 2003 Dodge Ram 1500 Radio

  • Dodge Ram 1500 Retainer Hood Latch Release Rod

  • Dodge Ram 1500 Weatherstrip Door Belt Left

  • 2003 Dodge Ram 1500 Parts Diagram

  • 2003 Dodge Ram 2500 Trailer Wiring Diagram Download

  • 2003 Dodge Ram 1500 Parts Diagram

  • 2003 Dodge Ram 1500 Parts Diagram

  • 2003 Dodge Ram 1500 Parts Diagram

  • 2004 Dodge Ram 1500 Hemi 5 7l Serpentine Belt Diagram

  • 2003 Dodge Ram 2500 Trailer Wiring Diagram Download

  • Dodge Ram Wiring Harness Diagram

  • 97 Dodge Ram 1500 2wd Stereo Wiring Diagram

  • 29 2003 Dodge Ram 1500 Trailer Wiring Diagram

  • 52009972ad

  • 30 2003 Dodge Ram 1500 Wiring Harness Diagram

  • 2003 Dodge Ram 2500 Trailer Wiring Diagram Download

  • 31 2005 Dodge Ram 1500 Fuse Box Diagram

  • Dodge Ram 1500 Parts Diagram 2014 Fuse Box Wiring Data

  • 2003 Dodge Ram 1500 Radio Wiring Diagram

  • 2003 Dodge Ram 1500 Fuse Box Diagram

  • 2004 Dodge Ram 1500 Trailer Wiring Diagram

  • 31 Dodge Ram 1500 Radiator Diagram

  • 52010234aa

  • 1999 Dodge Ram Wiring Diagram

Copyright © 2020 - CETNIEWO2017.VILOGDANSK.EU


1937 Comments