Diagram Database

Posted by on 2020-12-29

Where To Get Engine Diagrams 1995 Sport Jet Mercury

CETNIEWO2017.VILOGDANSK.EU

Where To Get Engine Diagrams 1995 Sport Jet Mercury

  • Jet Mercury
  • Date : December 29, 2020
  • Downloaded : 6548 times

Where To Get Engine Diagrams 1995 Sport Jet Mercury Whats New

To Get Engine Diagrams 1995 Sport

Downloads Where To Get Engine Diagrams 1995 Sport Jet Mercury

  • Used 1995 Mercury 90 120 Sport Jet Engine Service Manual

  • Used 1995 Mercury 90 120 Sport Jet Engine Service Manual

  • Used 1995 Mercury 90 120 Sport Jet Engine Service Manual

  • Fuel Recirculation System

  • Used 1995 Mercury 90 120 Sport Jet Engine Service Manual

  • Reed Plate And Auto Enrichner

  • Pinion And Impeller Shaft Splined Drive

  • Ignition Components

  • Oil Injection Pump

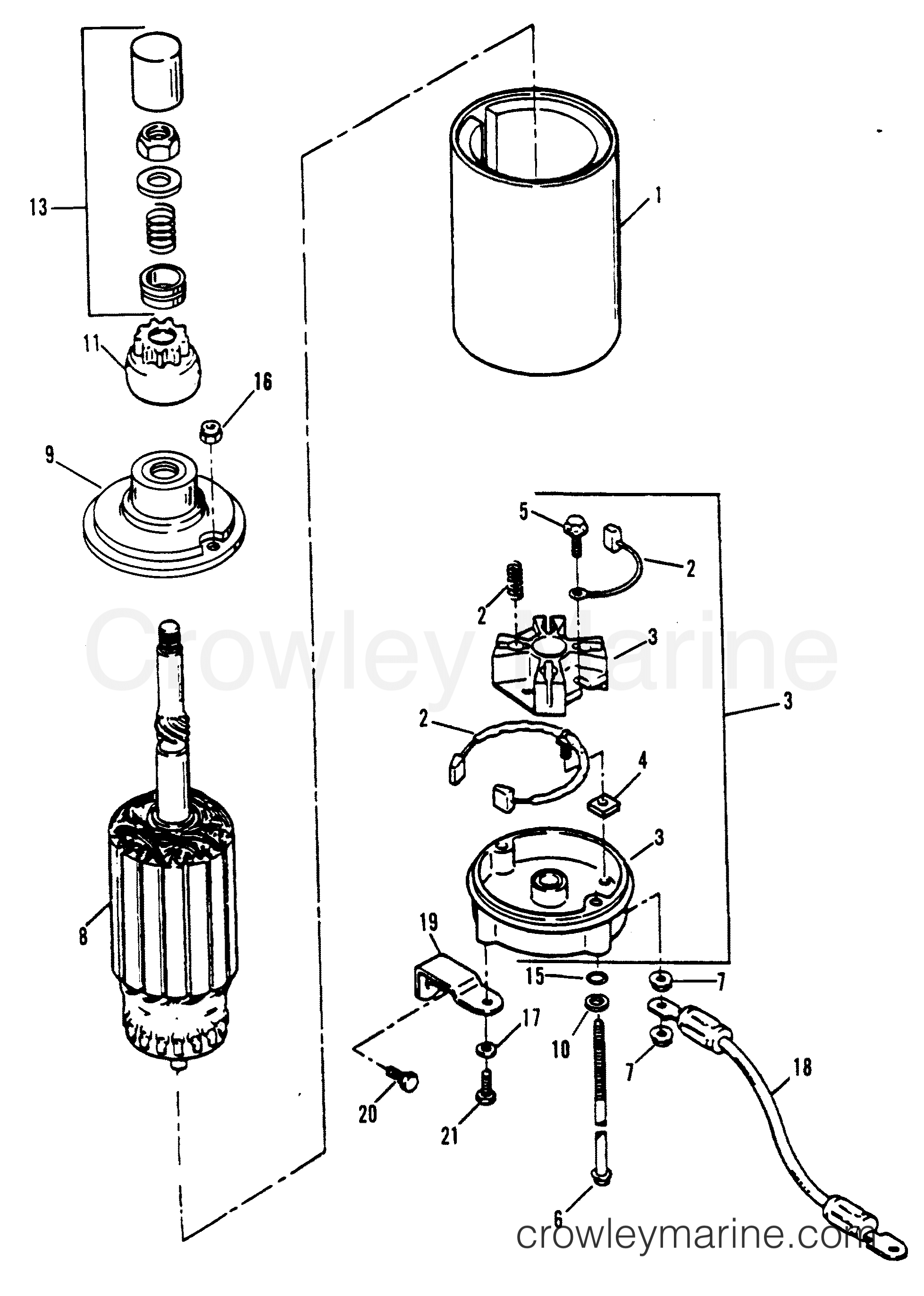
  • Starter Assembly

  • I Have Purchased A 1994 Searay Sea Raider With A 90hp

  • I Have A 120 Hp Mercury Jet Boat 1995 Starter Will Not

  • Used 1995 Mercury 90 120 Sport Jet Engine Service Manual

  • I Have A 2005 Tracker Pt 185 With A Mercury Sport Jet 175

  • Mercury Sport Jet 175 Hp Complete Powerhead Rebuild Kit 2

  • Mercury Marine 90 95xr 120 120xr Sport Jet Se By

  • I Have A 2005 Sugar Sand Mirage W Jet 2 5l Carbureted M2

  • 1995 Mercury Mariner Outboard Service Manual 90 120 Sport

  • Mercury Sport Jet 120 Complete Engine Test

  • 1995 Mercury Mariner Outboard Service Manual 90 95 120

  • Clymer Mercury Sport Jet 1993

  • Sea Doo Engine Diagram Together With Rotax Ignition Wiring

  • Mercury Marine 90 95xr 120 120xr Sport Jet Service Repair

  • 1995 Mercury Marine Service Shop Manual 90 120 Sport Jet

  • Mercury 90hp Sport Jet 120hp Sport Jet 1993

  • Starter For Mercury Outboard Sport Jet 90 Hp 90hp 1993

  • Stator Fits Mercury Sport Jet 90hp 90 Hp 2

  • Regulator Rectifier Mercury Marine Sport Jet Engine 90

  • Starter Fits Fits Mercury Outboard Sport Jet 90 90hp 1993

  • Mercury Mariner Sport Jet 90 120 95xr 120xr Factory Shop

  • Sea Rayder F14 Service Manual

  • Mercury Force Complete Sportjet Jetdrive Unit W Rudder

  • Mercury Force Complete Sportjet Jetdrive Unit W Rudder

  • 1995 Sea Rayder F16 Sport Jet Mercury 120 Reed Plate 2

  • Mercury Force Complete Sportjet Jetdrive Unit W Rudder

  • Mercury Sport Jet 210 Hp Complete Powerhead Rebuild Kit

  • Mercury

  • 1995 96 Mercury Marine 90 120 95xr 120xr Sport Jet Service

  • 1993

  • Carburetor

  • New Starter For Mercury 120 Sport Jet 1 7l - 103ci

  • Cylinder Block

  • Mercury Jetdrive 90 95 120 175 200 210 240 250 Service

  • Oil Injection Removal Questions Page 1

  • 1991

  • Mercury Sport Jet Shop Manual W815 1993

  • 2001 Ford Explorer Parts User Manual

  • Mercury Force Complete Sportjet Jetdrive Unit W Rudder

  • Mercury Sport Jet 250 Hp Dfi Complete Powerhead Rebuild

  • Mercury Mariner Oem Factory Manual 1995 90 120 95xr 120xr

  • Mercury Force Complete Sportjet Jetdrive Unit W Rudder

  • New Voltage Regulator Rectifier For Mercury Marine 115 125

Copyright © 2020 - CETNIEWO2017.VILOGDANSK.EU


1937 Comments