Diagram Database

Posted by on 2020-12-30

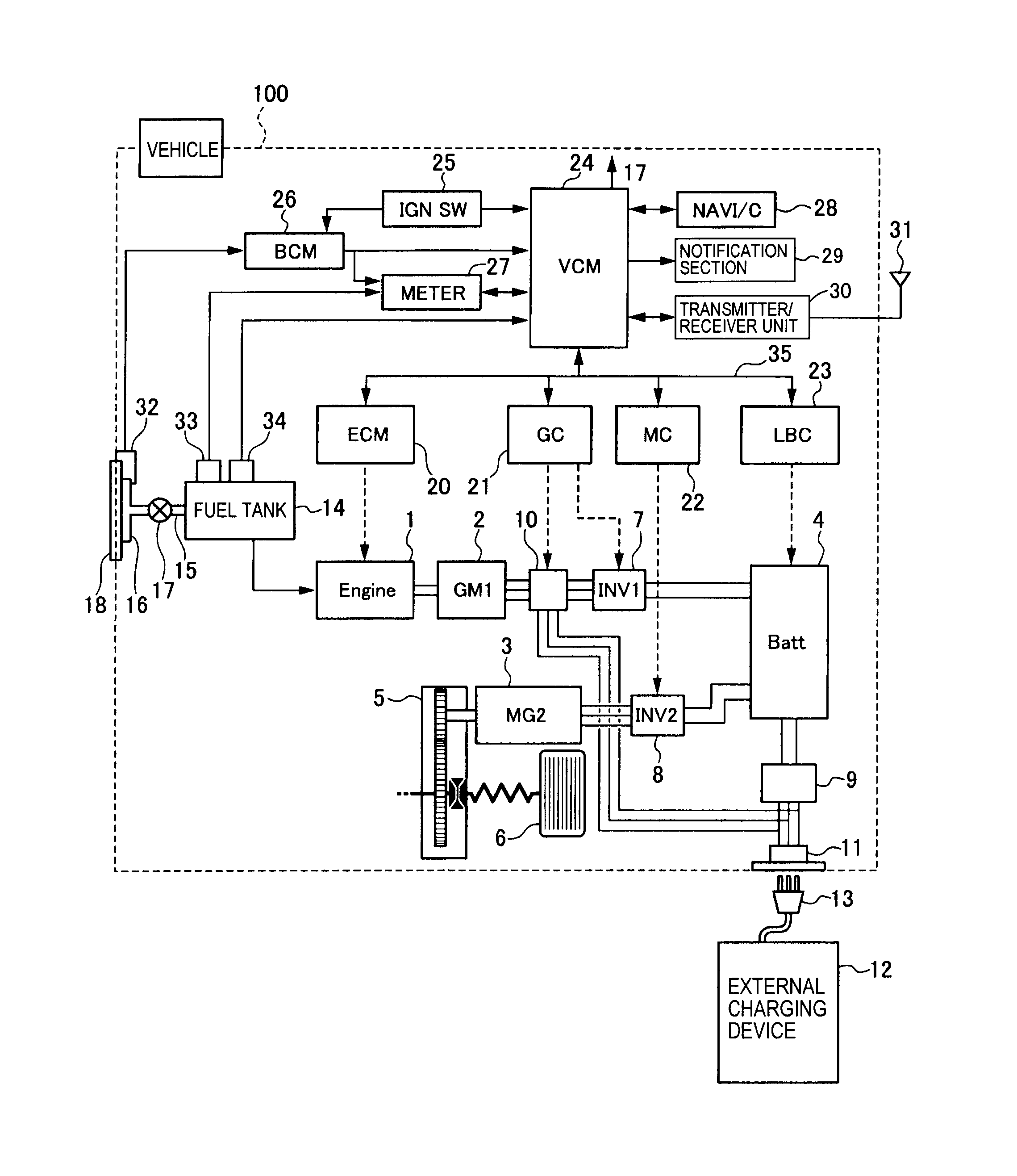
Viair Relay Wiring Diagram Viair 40043 4 00p Portable Compressor

CETNIEWO2017.VILOGDANSK.EU

Viair Relay Wiring Diagram Viair 40043 4 00p Portable Compressor

  • Portable Compressor
  • Date : December 30, 2020
  • Downloaded : 5789 times

Viair Relay Wiring Diagram Viair 40043 4 00p Portable Compressor Whats New

Relay Wiring Diagram Viair 40043 4 00p

Downloads Viair Relay Wiring Diagram Viair 40043 4 00p Portable Compressor

  • Kill Switch Relay Wiring Diagram

  • Kill Switch Relay Wiring Diagram

  • Kill Switch Relay Wiring Diagram

  • Kill Switch Relay Wiring Diagram

  • Kill Switch Relay Wiring Diagram

  • Visonic Axs

  • Fix Refrigerator Installing Universal Relay 3 In 1

  • Kill Switch Relay Wiring Diagram

  • Toyota Vdj79r Air Con Amplifier

  • Visonic Axs

  • How To Diy Pw50 Wire Diagram Volt Ohms Electric No Spark

  • Where Can I Find A Wiring Diagram For A Harbor Freight

  • 72 Jd 110 Wiring Problems - John Deere Tractor Forum

  • Rewiring Powermatic Pm1000 Table Saw From 120v To 240v

  • Visonic Axs

  • Potterton To Hive

  • Connect Salus Rt500rf To Vailiant Ecotec Plus 824

  • Honeywell Pressuretrol Pa404a

  • Carrier Clo Current Or Compressor Lock Out Board

  • Siemens Rwb29

  • Seat Car Radio Stereo Audio Wiring Diagram Autoradio

  • Capri Mk2 3 1 6 2 0 2 8i Wiring Diagrams

  • Wiring For For Honeywell Thermostat

  • Assistance Wiring A Dayton Drum Switch

  • Thunderdork Diy Cnc Router - Cnc4pc Com C11 Wiring

  • Hive 2 Wiring

  • Wiring Hive 2 To A Greenstar Junior 28i

  • Ge Concord4 Installation - Wired Connection Overview

  • Honeywell S8600c Pilot Control Module

  • Hlv H Power Feed Wiring Picture Needed

  • Hive Help Please

  • Franklin Qd Control Box Model 2801084915 Capacitor And

  • Cnc Router Bench Test For Eletronics

  • Replacing Honeywell T6360b With Dt92e

  • Worcester 28i Rsf And Honeywell T6360b

  • Trane Voyager Troubleshooting

  • Visonic Axs

  • Wiring My Reversable Switch Problem

  • Problem With The Thermostat Or Aquastat Relay Honeywell

  • Seat Altea Cabin Fuses Relays Obd2 Port Location

  • Hlv H Power Feed Wiring Picture Needed

  • Wiring A Furnace Overview

  • Visonic Axs

  • Complete 73

  • Convert 3 Phase Air Compressor To Single Phase Powerex

  • Holley Efi Ecu Mounting U0026 Wiring Electronic Fuel Injection

  • Sunvic Tlx2358 2a 1a 3 To 27o C S P D T Changeover

  • Siemens Plc Programmable Logic Controller S7

  • Radio Wiring Diagram

  • Goodman Stack Blower Relay Failure

  • Condensate Pump Installation Service Video For Mitsubishi

  • Genuine Rainbow E2 Series 2 Speed 6 Terminal Switch

  • Installation

  • Wattstopper Configuring The Lmcp Part 1

  • Yamaha Command Link Tach Install 2013 F70

  • 200 Amp Service Replacement In Allentown

  • Autonics Tutorial Temperature Controllers Tzn Tz

  • Waterway Spa Pump 3721621

  • Question

  • How To Change Relay Of Plain Heat Press Machine

Copyright © 2020 - CETNIEWO2017.VILOGDANSK.EU


1937 Comments