Diagram Database

Posted by on 2020-12-29

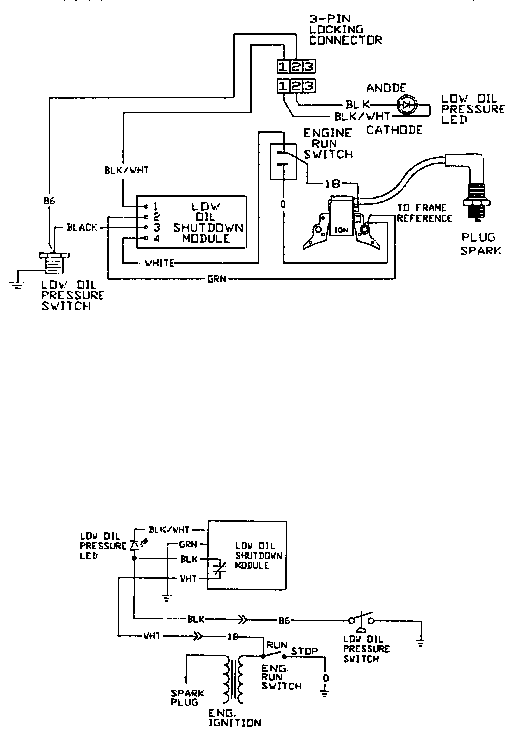
Tesla Model X Service Wiring Diagram Parts Catalog

CETNIEWO2017.VILOGDANSK.EU

Tesla Model X Service Wiring Diagram Parts Catalog

  • Parts Catalog
  • Date : December 29, 2020
  • Downloaded : 5779 times

Tesla Model X Service Wiring Diagram Parts Catalog Whats New

Model X Service Wiring Diagram

Downloads Tesla Model X Service Wiring Diagram Parts Catalog

  • Tesla Model X 2015

  • Tesla Model X 2015

  • Tesla Model X Service Manual Wiring Diagram Parts Catalog

  • Tesla Model X 2015

  • Download The Tesla Model 3 Parts Catalog In Pdf

  • Tesla Model X Service Manual Wiring Diagram Parts Manual

  • Tesla Model X Workshop Manual Wiring Diagram Parts Manual

  • Nissan Patrol Gr

  • Nissan Primastar

  • Lg Fb163 Series Service Manual Repair Guide

  • Tesla Wiring Diagram Workshop Manual Part Catalog

  • Mazda Cx

  • Toyota Avensis

  • Toyota Hilux Rzn142 Vzn167 Kzn165 Kdn145 Repair

  • Tesla Roadster Service Manual Wiring Diagrams Parts

  • Mitsubishi Engine Workshop Manual Repair Manuals Download

  • Nissan Manual Transmission Parts Diagram

  • 3500

  • Dgaa077bdta Coleman Gas Furnace Parts U2013 Hvacpartstore

  • E1eh012h Nordyne Electric Furnace Parts U2013 Hvacpartstore

  • Allison Clt755 Electronic Controls Transmissions Parts

  • Tesla Model X 2015 2016 2017 2018 Service Manual U0026 Parts

  • Nissan Primastar

  • Citroen Service Box Parts And Repair

  • Nissan Primastar

  • John Deere Rx75 Parts Manual

  • Fantuzzi Te 32 Ff Models English Wiring Diagram

  • John Deere X495 X595 Lawn U0026 Garden Tractor Pdf Manual

  • Bentley 2004

  • Ebay Sponsored Jaguar Part Catalogs And Wiring Diagrams

  • Looking For Jenn

  • Bobcat 743 Skid Steer Loader Parts Manual Pdf

  • Rock Ola Models 476 481 484 Service Manual Parts Catalog

  • Rock

  • Yanmar Operation U0026 Maintenance Manual Service Manual

  • Tesla Model X Service Manual Wiring Diagram Parts Manual

  • Toyota Hilux Hilux Tgn10 Ggn15 Kun10 Repair Manuals

  • Murray 38717x53a

  • Citroen Service Box 2014 Parts And Service Manual Download

  • Clark C500 Y180 L L

  • 1986

  • Yanmar Operation U0026 Maintenance Manual Service Manual

  • Clark Wp40 Sm611 Service Manual Pdf

  • Mercedes Ewa Net

  • Briggs And Stratton 126t02 Repair Manual

  • Coleman Model Pm0435000 Generator Genuine Parts

  • Citroen Spare Parts Catalog Book Repair Manual

  • Looking For Jenn

  • Opel Tis Wiring Diagrams U0440 U0435 U043c U043e U043d U0442

  • Tesla Model X Service Manual Wiring Diagram Parts Manual

  • Nissan Primastar

  • Tesla Model X 2015

  • Mcdonnell U0026 Miller 120604 Model Fs8-wg-sl 1 U0026quot

  • Toyota Hilux Rzn142 Vzn167 Kzn165 Kdn145 Repair

  • Eb15a Coleman Electric Furnace Parts U2013 Hvacpartstore

  • Generac Washer Power Parts

  • Suzuki Atv 2000 Oem Parts Diagram For Wiring Harness

Copyright © 2020 - CETNIEWO2017.VILOGDANSK.EU


1937 Comments