Diagram Database

Posted by on 2020-12-29

Sharp 21v Fk200m Diagram

CETNIEWO2017.VILOGDANSK.EU

Sharp 21v Fk200m Diagram

  • Fk200m Diagram
  • Date : December 29, 2020
  • Downloaded : 7294 times

Sharp 21v Fk200m Diagram Whats New

21v

Downloads Sharp 21v Fk200m Diagram 21vianet 21v power supply 21v0 21vc 21vip 21va 21vdc 21vnt 21voa 21vp6 21v50 21vek 21vfb 21vg48 21vk41 21vkii 21vapes 21vp40 21v powerbi 21vianet ir 21v led 21vianet dns 21vianet icp

  • Sharp 21v

  • Sharp 21v

  • Electro Help Sharp 21v-fl200 - Crt Tv

  • Electro Help Sharp 21v-fl200 - Crt Tv

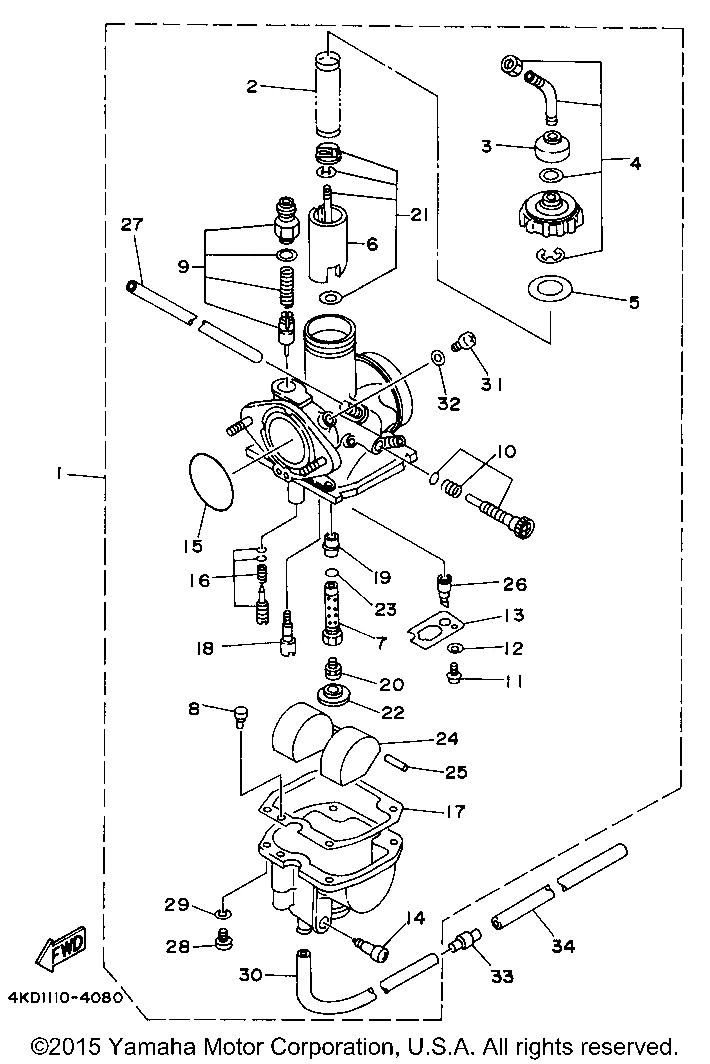
  • Yamaha Oem Part 21v

  • 5s 18v And 21v Lithium Ion Battery Protection Circuit

  • Kawasaki Oem Part 41073

  • Yamaha Oem Part 21v

  • Yamaha Oem Part 21v

  • Yamaha Oem Part 21v

  • Electro Help Sharp 21v-fl200 - Crt Tv

  • A Single Run Of The Engine Istc

  • Sharp 21v

  • Simulation Results On The Chosen Operating Points Of The

  • Yamaha Oem Part 21v

  • Yamaha Oem Part 21v

  • Yamaha Oem Part 21v

  • Bms Kan Piekstroom Niet Aan - Forum

  • 12v 15

  • Yamaha Atv 1994 Oem Parts Diagram For Fuel Tank

  • Yamaha Atv 2007 Oem Parts Diagram For Starter

  • Page 21v

  • 21v

  • Coordinate System And The Experimental Turbojet Engine

  • Yamaha Atv 1990 Oem Parts Diagram For Rear Brake Caliper

  • Yamaha Atv 1983 Oem Parts Diagram For Rear Fender

Copyright © 2020 - CETNIEWO2017.VILOGDANSK.EU


1937 Comments