Diagram Database

Posted by on 2020-12-30

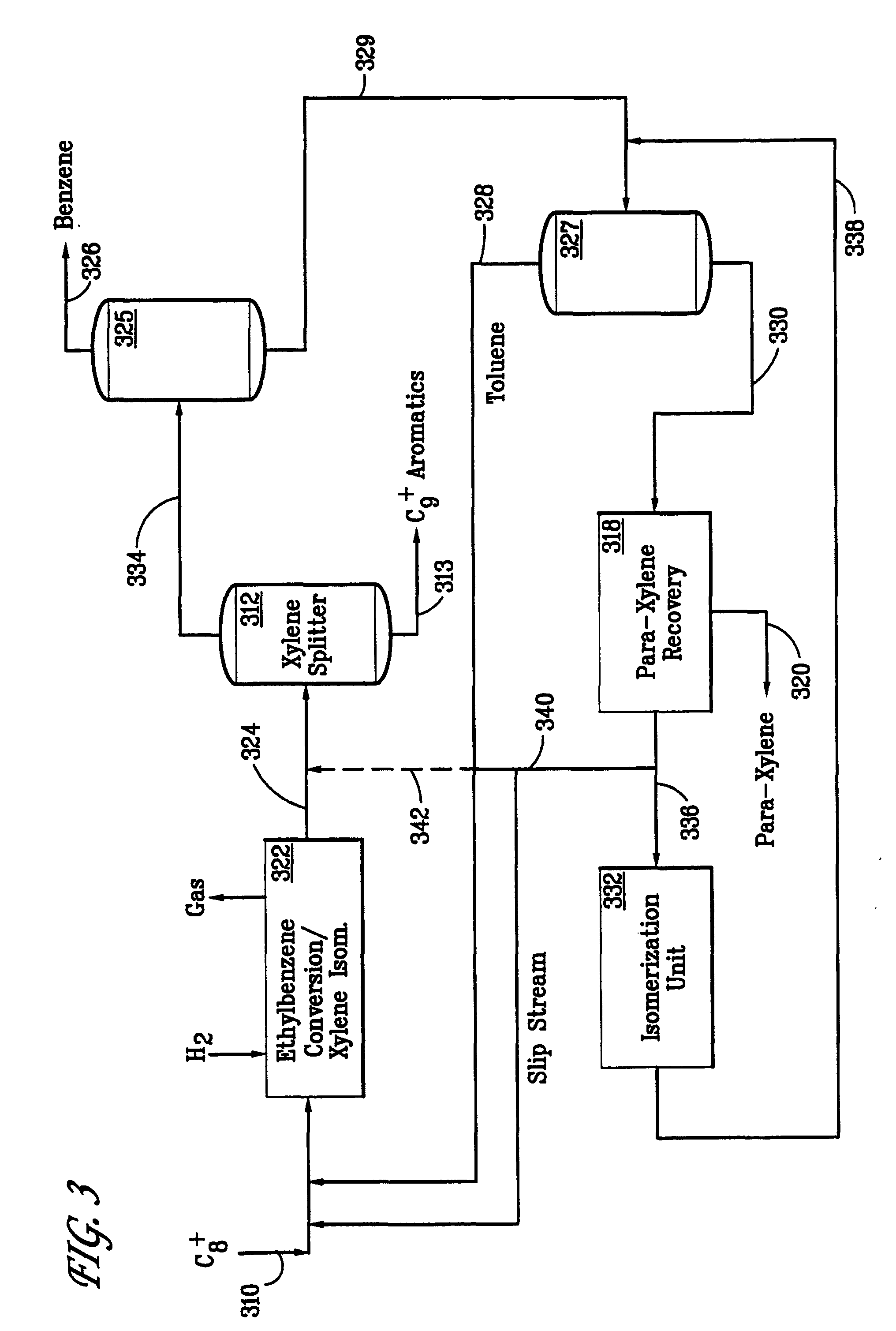
Process Flow Diagram Of Xylene

CETNIEWO2017.VILOGDANSK.EU

Process Flow Diagram Of Xylene

  • Of Xylene
  • Date : December 30, 2020
  • Downloaded : 6691 times

Process Flow Diagram Of Xylene Whats New

Flow Diagram

Downloads Process Flow Diagram Of Xylene flow diagram flow diagram legend flow diagram maker flow diagrammer flow diagram shape flow diagram io flow diagram js flow diagram ux flow diagram key flow diagram ppt flow diagram rap flow diagram uml flow diagram loop flow diagram sdlc flow diagram app flow diagram code flow diagram def flow diagram creator flow diagram symbols flow diagram template flow diagram shape meaning

  • Patent Ep1109761b1

  • Flow Sheet Of Phthalic Anhydride Production Process Via O

  • Solved 1 1 The Following Figure Shows The Flow Diagram Fo

  • Patent Us6878855

  • Patent Us6878855

  • Patent Ep1109761b1

  • Patent Ep1109761b1

  • Patent Us6878855

  • Schematic Flow Sheet Of The Experimental Apparatus Used

  • The Way To Obtain A Para

  • Patent Ep0729446b1

  • Block Diagram Of P

  • Production Of Phthalic Anhydride From Xylene

  • Benzene Toluene Uadf8 Ub9ac Uace0 Xylenes Btx Ub124 Uc774 Ubc84 Ube14 Ub85c Uadf8

  • Solved Interpretation Of Flow Diagram Of Terephthalic Aci

  • Chemical Engineering Draw A Block Flow Diagram Fo

  • Flow Diagram Of The Px Oxidation Reaction Process In Aspen

  • Cpmai

  • Liquid Phase Oxidation Of P

  • 2 Uop Sulfolane Process 29

  • Aromatics

  • Patent Us6342649

  • Cpmai

  • Cpmai

  • Patent Us7405340

  • 1 Simplified Flow Scheme Of A Naphtha Cracker

  • Isolene Catalyst Process

  • Atmosphere

  • Technological Scheme Of The Supercritical Extraction Unit

  • Simplified Process Flow Diagram Of The Terephthalic Acid

  • Patent Us20110087000

  • Btx Chemistry

  • Solved Interpretation Of Flow Diagram Of Terephthalic Aci

  • Economics Of P

  • Schematic Of Semi

  • Aromatics Transalkylation

  • Improved Performance Of Hzsm Xylene

  • Prarancangan Pabrik Kimia U00a9 Manufacture Of M

  • High Octane Gasoline Using Renewable Aromatic Hydrocarbons

  • Flow Diagram Of Preparation Process For Superhydrophobic

  • Simplified Flow

  • Chemical Engineering Draw A Block Flow Diagram Fo

  • Patent Ep0909266b1

  • Patent Ep1056695b1

  • Industrial Chemicals Technology Hand Book

  • Gas Dehydration Systems

  • Flow Diagram Of Included Studies The Flow Chart Depicts

  • Production Of Benzene Toluene And Xylene Btx From Fcc

  • Patent Us20090005591

  • Prarancangan Pabrik Kimia U00a9 Manufacture Of Xylene From

  • Simplified Process Flow Diagram For Btx Recovery Taken

  • Uop Mx Sorbex U2122 Process For Meta

  • Air Pollution And Glycol Dehydration

  • Johnson Matthey

  • Production Of Phthalic Anhydride From Xylene

  • Separating Mixtures By Exploiting Molecular Packing

Copyright © 2020 - CETNIEWO2017.VILOGDANSK.EU


1937 Comments