Diagram Database

Posted by on 2020-12-29

Port A Cool Cyclone Wiring Diagram 100

CETNIEWO2017.VILOGDANSK.EU

Port A Cool Cyclone Wiring Diagram 100

  • Diagram 100
  • Date : December 29, 2020
  • Downloaded : 7396 times

Port A Cool Cyclone Wiring Diagram 100 Whats New

A Cool Cyclone Wiring

Downloads Port A Cool Cyclone Wiring Diagram 100

  • Port A Cool Cyclone Wiring Diagram 100

  • Port A Cool Cyclone Wiring Diagram 100

  • Hd Image Of Marshall Vs100 Clean Problem Schematic Dr

  • Shortscale View Topic

  • The Pink And Gray Wires Of Cyclone Alarm

  • Asco 940 Wiring Diagram

  • Electrical Charging System Upgrade Mostly Complete

  • Pin On Motos

  • 53 F-100 Wiring

  • Pt100 Rtd Table Fahrenheit

  • Tutorial

  • Dire Need Of Help Blinkers Wiring

  • Removing Clifford Alarm

  • Ao Smith Gas Water Heater Wiring Diagram

  • U0026 39 75 Suzuki A100 Electrical

  • Cool Pack Air Conditioning System Wiring Diagram For The

  • Mercury Outboard Ignition Switch Wiring Diagram U2014 Untpikapps

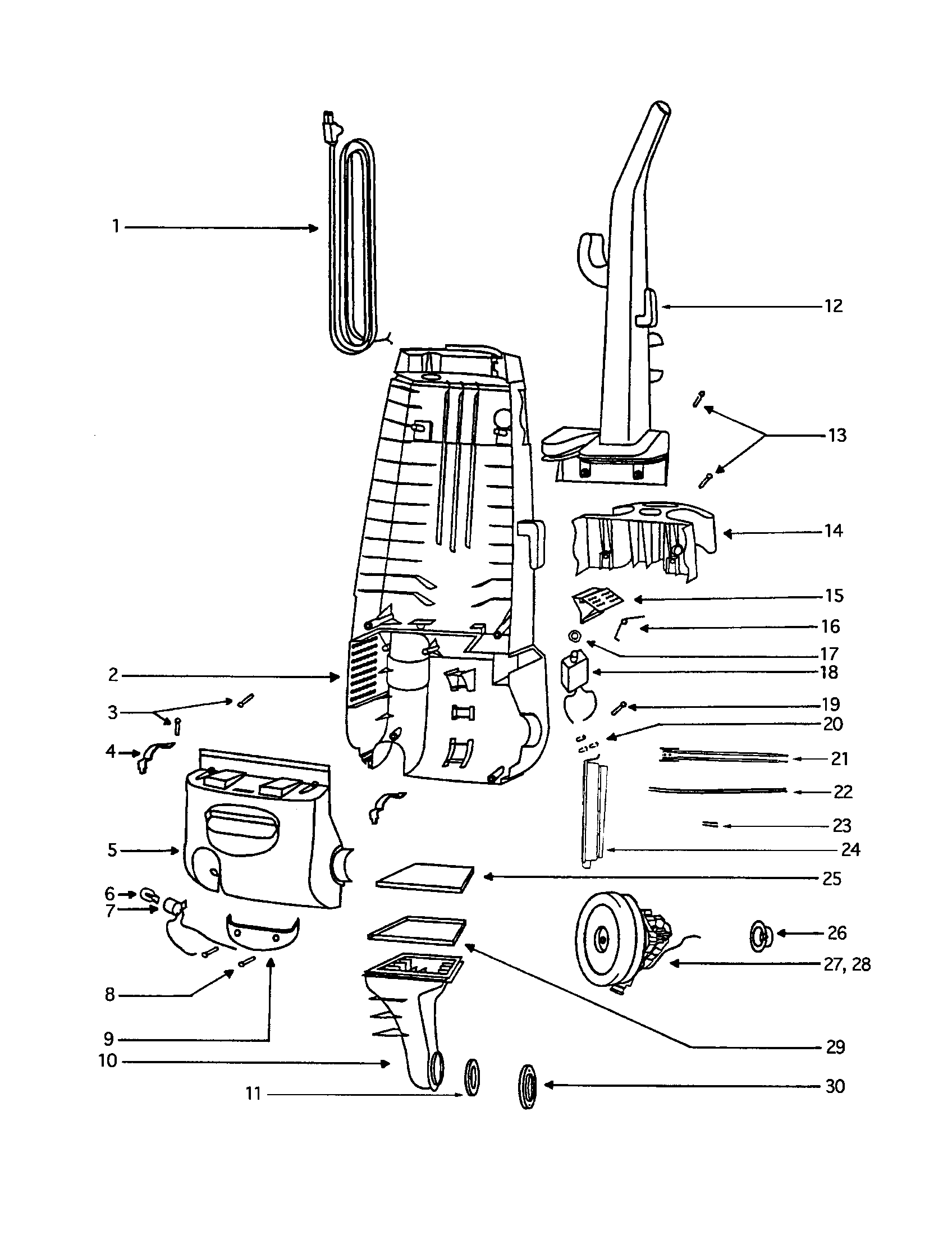
  • Porta Cool Fan Parts

  • Yamaha

  • Dyson Dc39 Parts Diagram

  • Ao Smith Gas Water Heater Wiring Diagram

  • Wiring Diagram Of Motorcycle Honda Xrm 125 With Images

  • Suzuki Ts100 Er Uk Spec Colour Wiring Loom Circuit Diagram

  • Port

  • Wholesale Decorative Rock Stone Gravel Boulders Las

  • Kenworth T800 Wiring Diagram Symbols

  • 1970 1971 1972 1973 1974 Ford Torino Convertible Cyclone

  • 1962 1963 1964 1965 1966 1967 Mercury Comet Capri Cyclone

  • Climatizador Evaporativo Portacool Noviembre 2013

  • Portacool Cyclone Replacement Pump U2014 Fits Portacool

  • Digital Thermostat Stc

  • Portacool Fan Tractor Supply

  • One Pump Cyclone Rear Kit

  • Portacool Fan Tractor Supply

  • 4 Pump Cyclone Kit

  • Cyclone 250x What Do I Need Electrical Components

  • Electric Noobie Help

  • 1959 Cadillac Wiring Diagram

  • Build A Thermo

  • The Pink And Gray Wires Of Cyclone Alarm

  • 5 Easy 1 Watt Led Driver Circuits

  • Subpanel De 100 Amp Fuera Del Panel De 200 Amp A 150 Pies

  • 100 Electrical U0026 Electronic Circuit Symbols

  • Solar Calculator And Diy Wiring Diagrams

  • Rtd Tables Pt100 Fahrenheit

  • Cb450 Color Wiring Diagram Now Corrected

  • Pin On Harley

  • Wiring Questions

  • Pin By Samantha Unverferth Urban On U201865 F100

  • Portacool Cyclone 160 8000 Cfm 1

  • Wiring Diagrams With Images

  • Tropical Storm Allison Flood Map

  • Fuse Box

  • 301 Moved Permanently

  • Patent Us6196007

  • I Have A 1987 Honda Cr 250 With All Original Electric

  • Ao Smith Gas Water Heater Wiring Diagram

  • Allen Bradley 700 Relay Wiring Diagram

  • Air Compressor Components Diagram

  • Ao Smith Gas Water Heater Wiring Diagram

Copyright © 2020 - CETNIEWO2017.VILOGDANSK.EU


1937 Comments