Diagram Database

Posted by on 2020-12-30

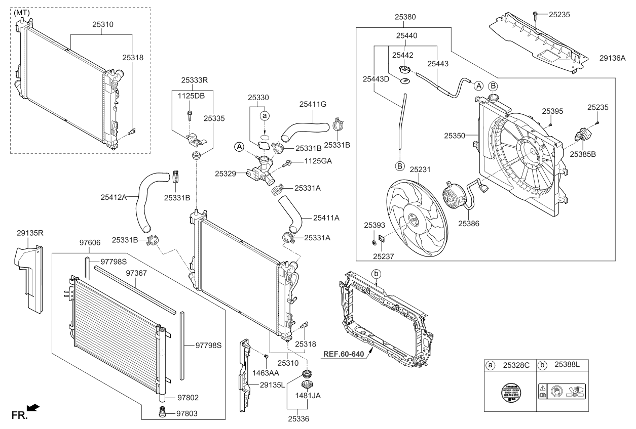
Manuals For Cooling System Diagrams Kia Carnival

CETNIEWO2017.VILOGDANSK.EU

Manuals For Cooling System Diagrams Kia Carnival

  • Kia Carnival
  • Date : December 30, 2020
  • Downloaded : 7100 times

Manuals For Cooling System Diagrams Kia Carnival Whats New

For Cooling System Diagrams

Downloads Manuals For Cooling System Diagrams Kia Carnival

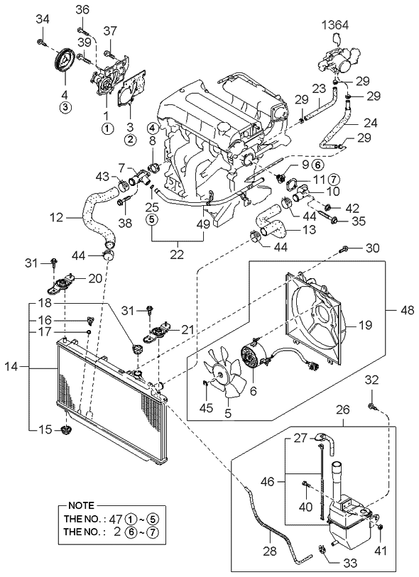
  • Cooling System Kia Carnival 99 1999

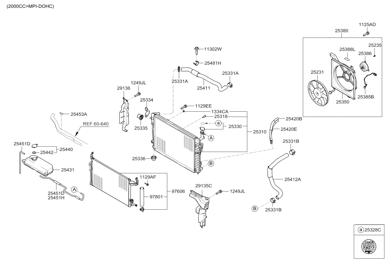
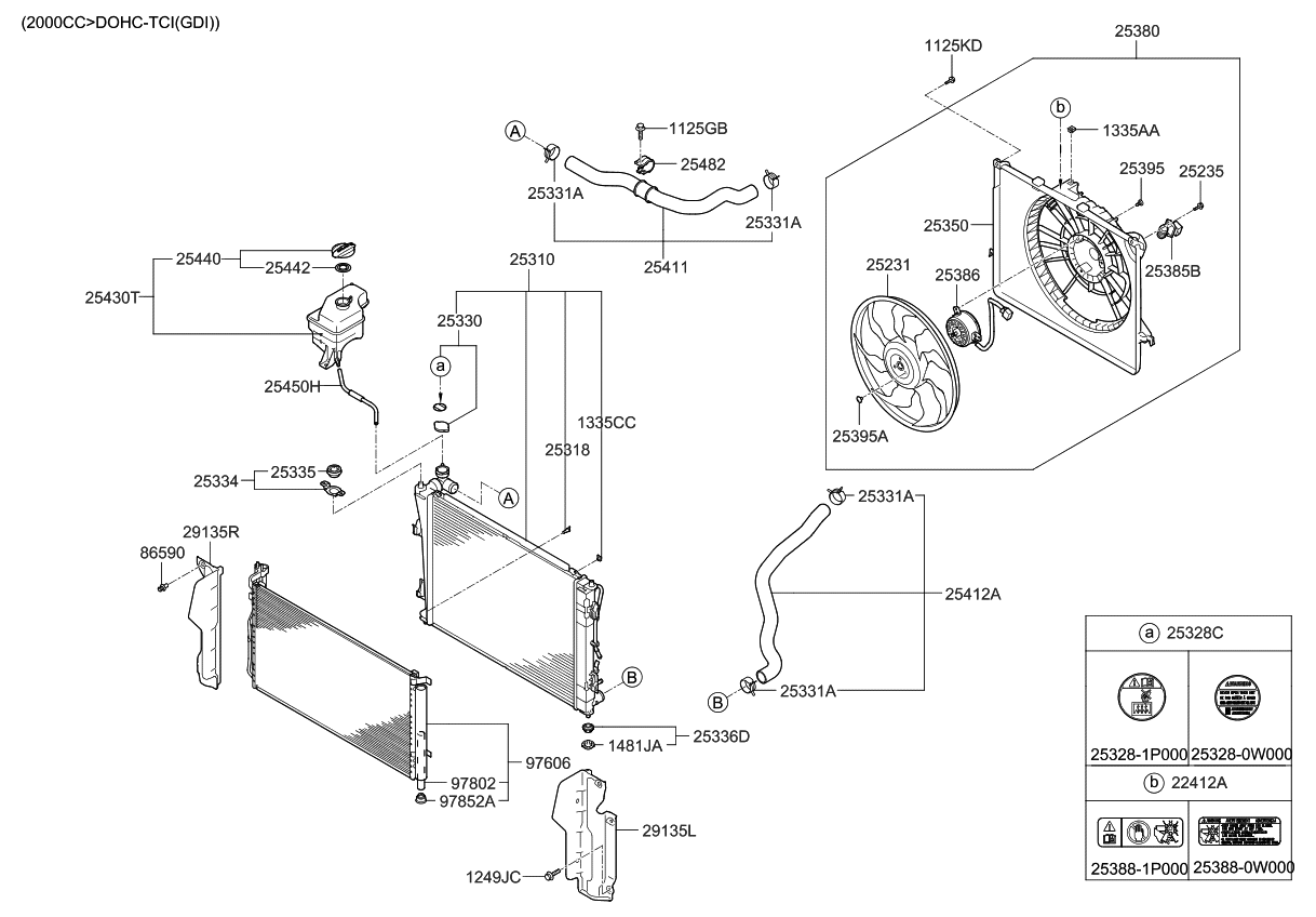
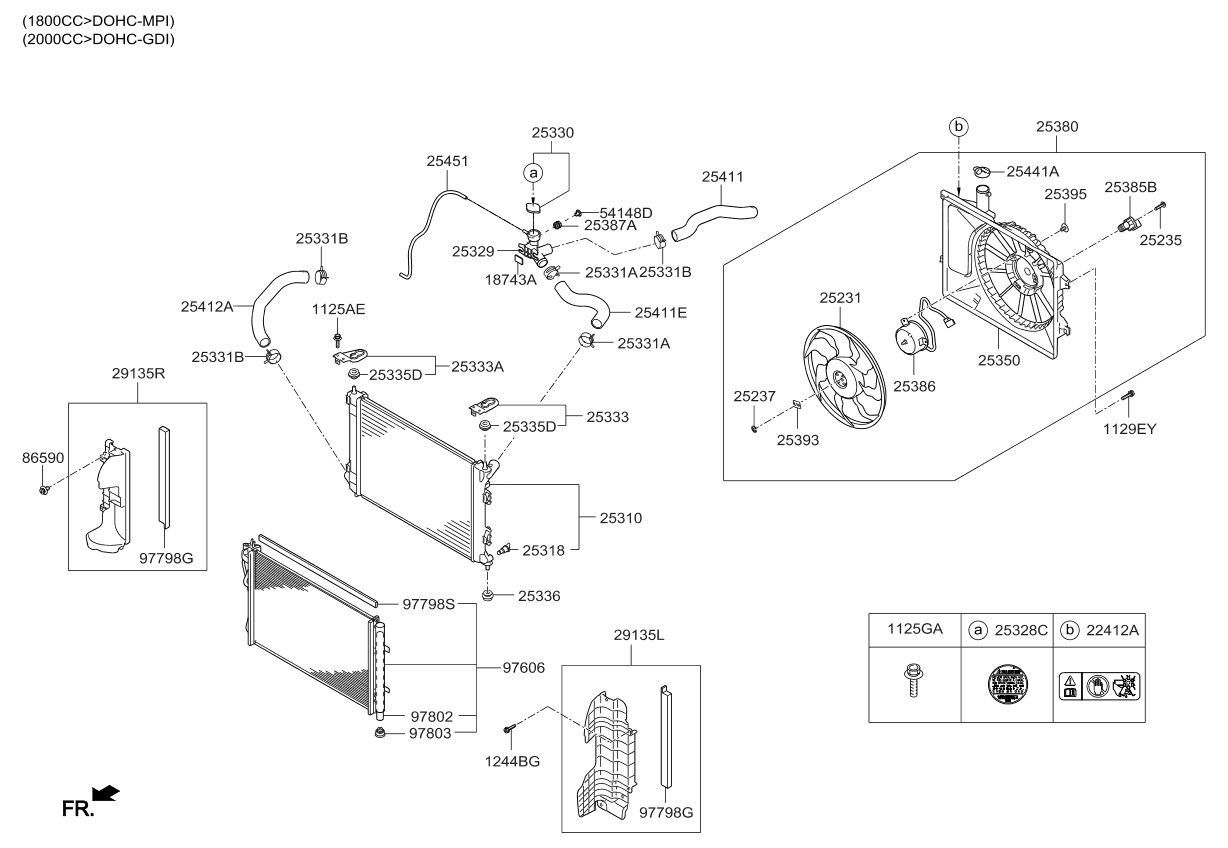
  • Engine Cooling System 01 02 Kia Carnival Sedona 14 2014

  • Cooling System Kia Carnival Sedona 99 1999

  • Engine Cooling System 02 02 Kia Carnival 14 2014

  • Kia Cooling System

  • 0g03250037a

  • 254112k750

  • 97606h9100

  • 253501w052

  • 25330b1000

  • K907960620b

  • Kia Engine Cooling System

  • 0k30a15205

  • 253102s500

  • I Have A 2007 Kia Sedona Van Which Is Showing A Fault Code

  • 254204d970

  • 2001 Kia Sportage Cooling System

  • 253103q500

  • 253302e000

  • 29136d3000

  • 2008 Kium Sportage Engine Diagram

  • 254112g300

  • Repair Guides

  • 25328b1000

  • Kia Sedona Engine Cooling Fan Controller Entourage

  • Where Is The Thermostat Located On A 2001 Kia Spectra Top

  • Repair Guides

  • Kia Carnival Vq 2006 U2013 2010 U2013 Fuse Box Diagram U2013 Circuit

  • Kia Sorento Engine Coolant Reservoir

  • 254303e200

  • 2002 Kia Sedona Engine Diagram

  • Wiring Diagram For Kium Picanto

  • Kia Oem 16

  • Cooling System On 2003 Kia Sorento Part 2

  • Apdi U00ae 8012701

  • 2566039800

  • 1799322000

  • My Kia Sedona 2005 Van Is Overheating Ji Suspect Either A

  • 25385c6500

  • 25310d9800

  • Ac A C Air Conditioning Compressor Cooling Pump 10s20c For

  • 256302w500

  • 978532f100

  • I Have A 03 Kia Sorento Ex I Did Have To Replace The

  • 253861g200

  • 254153s000

  • Kia Sedona Engine Cooling Fan Controller Entourage

  • 254513x600

  • Kia Carnival Wiring Diagram Pdf

  • 252312m500

  • Kia Sedona Engine Cooling Fan Controller Entourage

  • 29136d5000

  • 0k2a515280a

  • 253802k100

  • 256203caa0

Copyright © 2020 - CETNIEWO2017.VILOGDANSK.EU


1937 Comments