Diagram Database

Posted by on 2020-12-30

Fuse Diagram For 2001 Dodge Ram 2500

CETNIEWO2017.VILOGDANSK.EU

Fuse Diagram For 2001 Dodge Ram 2500

  • Ram 2500
  • Date : December 30, 2020
  • Downloaded : 6844 times

Fuse Diagram For 2001 Dodge Ram 2500 Whats New

Diagram For 2001 Dodge

Downloads Fuse Diagram For 2001 Dodge Ram 2500 wiring diagram for 2001 dodge ram 2500 wiring diagram for 2001 dodge ram 2500 diesel wiring diagram for 2001 dodge dakota radio fuse box diagram for 2001 dodge ram 1500 fuse box diagram for 2001 dodge ram 2500 brake line diagram for 2001 dodge dakota 4x4 brake line diagram for 2001 dodge ram 1500 2001 dodge 3500 wiring diagram for trailer fuse box diagram for 2001 dodge ram 2500 fuse diagram for 2000 dodge ram 2500

  • I Need A Vacuum Diagram For A 2001 Dodge Ram 2500 4wd With

  • 2001 Dodge Ram 2500 Parts Diagram

  • 2001 Dodge Ram 2500 Heater Engine Block

  • Wiring Diagram 26 2001 Dodge Ram 2500 Diesel Vacuum Diagram

  • 2001 Dodge Ram 2500 Wiring Used For Heater And A C Air

  • 2001 Dodge Ram 2500 Quad Cab 8ft Box 5 9l Cummins 24v

  • 2001 Dodge Ram 2500 Knuckle Left Front Discfront

  • 2001 Dodge Ram 2500 Parts Diagram

  • 2001 Dodge Ram 2500 Parts Diagram

  • 2001 Dodge Ram 2500 Transmission Package Remanufactured

  • 2001 Dodge Ram 2500 Valve Package Check Speed Control

  • Latest Wiring Diagram For 2001 Dodge Ram 2500

  • 2001 Dodge Ram 2500 Check Valve Fuel Californiacummins

  • 2001 Dodge Ram 2500 Parts Diagram

  • 2001 Dodge Ram 2500 Radio Wiring Diagram

  • 2001 Dodge 2500 Trailer Wiring Diagram

  • 1999 Dodge Ram 2500 Trailer Wiring Diagram

  • 2001 Dodge Ram 2500 Trailer Wiring Schematic

  • 2001 Dodge Ram 2500 Quad U0026 Club Cab Wiring

  • 2001 Dodge Ram 2500 Engine Diagram

  • 2001 Dodge 2500 Trailer Wiring Diagram

  • 5010010aa

  • 2001 Dodge Ram 2500 Head Oil Filter Emissions

  • 2001 Dodge 2500 Trailer Wiring Diagram

  • Dodge Ram 2500 Transmission Wiring Diagram

  • 2001 Dodge Ram 1500 Fuse Box

  • 2001 Dodge Ram 2500 Parts Diagram

  • 2001 Dodge Ram Van 2500 Manual Transmission Hub

  • 2001 Dodge Ram 1500 Cover Transmission Dust Flat Case

  • 2011 Dodge Ram 2500 Wiring Kit Trailer Tow Electric

  • 5003932aa

  • 2006 Dodge Ram 2500 Diesel Wiring Diagram

  • Fuse Box Diagram For 1999 Dodge Ram 3500

  • 2001 Dodge Ram 1500 Fuse Box

  • 1998 Dodge Ram 1500 Wiring Schematic

  • 35 Dodge Ram 3500 Parts Diagram

  • 2001 Dodge Ram 2500 Clockspring Control Speed Steering

  • 2001 Dodge Ram Radio Wiring Diagram

  • 2001 Dodge 2500 Trailer Wiring Diagram

  • I Have A 2001 Dodge Ram 2500 With A Cummins Turbo Diesel

  • 5015130aa

  • 04897668af Level Unit 34

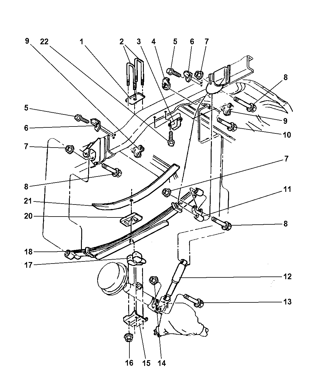
  • 2001 Dodge Ram 2500 Front Suspension Diagram

  • 31 2001 Dodge Ram Wiring Diagram

  • 2001 Dodge Ram 2500 Module Anti

  • 2001 Dodge Ram Van 2500 Manual Transmission Hub

  • 2001 Dodge Ram 2500 Seal Drive Pinion With Flange Axle

  • 2001 Dodge Ram 2500 Applique Tailgate Appliquedual

  • 32 2001 Dodge Ram Trailer Wiring Diagram

  • 2001 Dodge Ram 2500 Parts Diagram

  • Wiring Diagram 26 2001 Dodge Ram 2500 Diesel Vacuum Diagram

Copyright © 2020 - CETNIEWO2017.VILOGDANSK.EU


1937 Comments