Diagram Database

Posted by on 2020-12-30

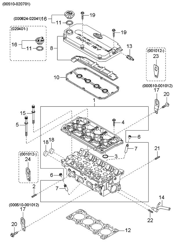
Front Of 2002 Kia Rio Engine Diagram

CETNIEWO2017.VILOGDANSK.EU

Front Of 2002 Kia Rio Engine Diagram

  • Engine Diagram
  • Date : December 30, 2020
  • Downloaded : 7422 times

Front Of 2002 Kia Rio Engine Diagram Whats New

Of 2002 Kia Rio

Downloads Front Of 2002 Kia Rio Engine Diagram

  • 2002 Kia Spectra Engine Diagram

  • 2002 Kia Rio Rxv

  • Check Engine Light Keeps Coming On Codes Are 705 And 743

  • 2002 Kia Rio 2002 Radio Wiring

  • 2002 Kia Rio Cinco Wagon 1 5l A T Engine Mount Bracket

  • 2002 Kia Rio Cylinder Block

  • 0g03250037a

  • 2002 Kia Rio Audio Wiring Diagram

  • 2002 Kia Spectra Engine Diagram

  • 2002 Kium Sportage Engine Diagram Fuel System

  • 2002 Kium Optima Engine Wiring Diagram

  • 2002 Kia Spectra Engine Diagram

  • 2002 Kia Rio Knock Sensor How Do I Replace The Knock

  • 2002 Kia Sedona Serpentine Belt Routing And Timing Belt

  • Jumped Timing Repaired Was Running Great Now It Is Running

  • I Have A 2002 Kia Optima 2 7l With Code P1166 Car Is Hard

  • Rio Kium Sedona Engine Diagram

  • 2002 Kia Rio Serpentine Belt Routing And Timing Belt Diagrams

  • How To Remove 2002 Kia Rio Engine Cover

  • Can You Tell Me What A P1166 Code Is For A Kia Reo

  • 2002 Kia Spectra Engine Diagram

  • 2001 Kia Rio Engine Diagram

  • 2002 Kia Rio Oil Pump U0026 Filter

  • 2001 Kia Rio Engine Diagram

  • 2002 Kia Rio Wiring Diagram

  • I Have A 2001 Kia Rio And It Won U0026 39 U0026 39 T Turn Off When The

  • What Is The Firing Order For The 2001 Kia Rio

  • 2002 Kia Spectra Engine Diagram

  • 2002 Kia Rio Electrical Troubleshooting Manual 02 Wiring

  • 2001 Kia Rio Engine Diagram

  • 2001 Kia Rio Engine Diagram

  • Kia Rio Wiring Diagrams

  • 2006 Kia Optima Engine Diagram

  • 2008 Kia Rio Belt Diagram

  • File Type Gif Fuel Tank Gif 66 4 Kb 2853 Views Images

  • 2002 Kia Sprotage Altenator Wiring Diagram

  • Ptl5spd 2002 Kia Riosedan 4d Specs Photos Modification

  • 2003 Kia Rio Engine Diagram

  • Repair Guides

  • 0k30e10270

  • 2011 Kia Rio Rio5 Lx Hatchback Engine Photos

  • 218111g000

  • Nt Engine Cooling Fan Motor Fits 2001

  • 2000 Kia Rio Engine Diagram

  • I Need A Timing Diagram For The Timing Belt Replacement On

  • 2002 Kia Rio Starter

  • 2002 Kia Spectra Engine Diagram

  • 2002 Kia Sedona Engine Diagram

Copyright © 2020 - CETNIEWO2017.VILOGDANSK.EU


1937 Comments