Diagram Database

Posted by on 2020-12-30

Engine Displacement Diagram

CETNIEWO2017.VILOGDANSK.EU

Engine Displacement Diagram

  • Displacement Diagram
  • Date : December 30, 2020
  • Downloaded : 7230 times

Engine Displacement Diagram Whats New

Displacement

Downloads Engine Displacement Diagram displacement displacement calculator displacement formula displacement definition displacement map displacement psychology def displacement equation displacement physics displacement reaction displacement units displacement method displacement definition physics displacement equation physics displacement vs distance displacement psychology displacement formula physics displacement define displacement man displacement in science displacement vs time graph

  • Displacement Geometry

  • Distance And Displacement U2013 The Science Classroom

  • Cam Terminology And Displacement Diagram

  • Displacement Diagram

  • Ppt - Dynamic Mechanisms Powerpoint Presentation

  • What Are The Different Types Of Follower Motion Also

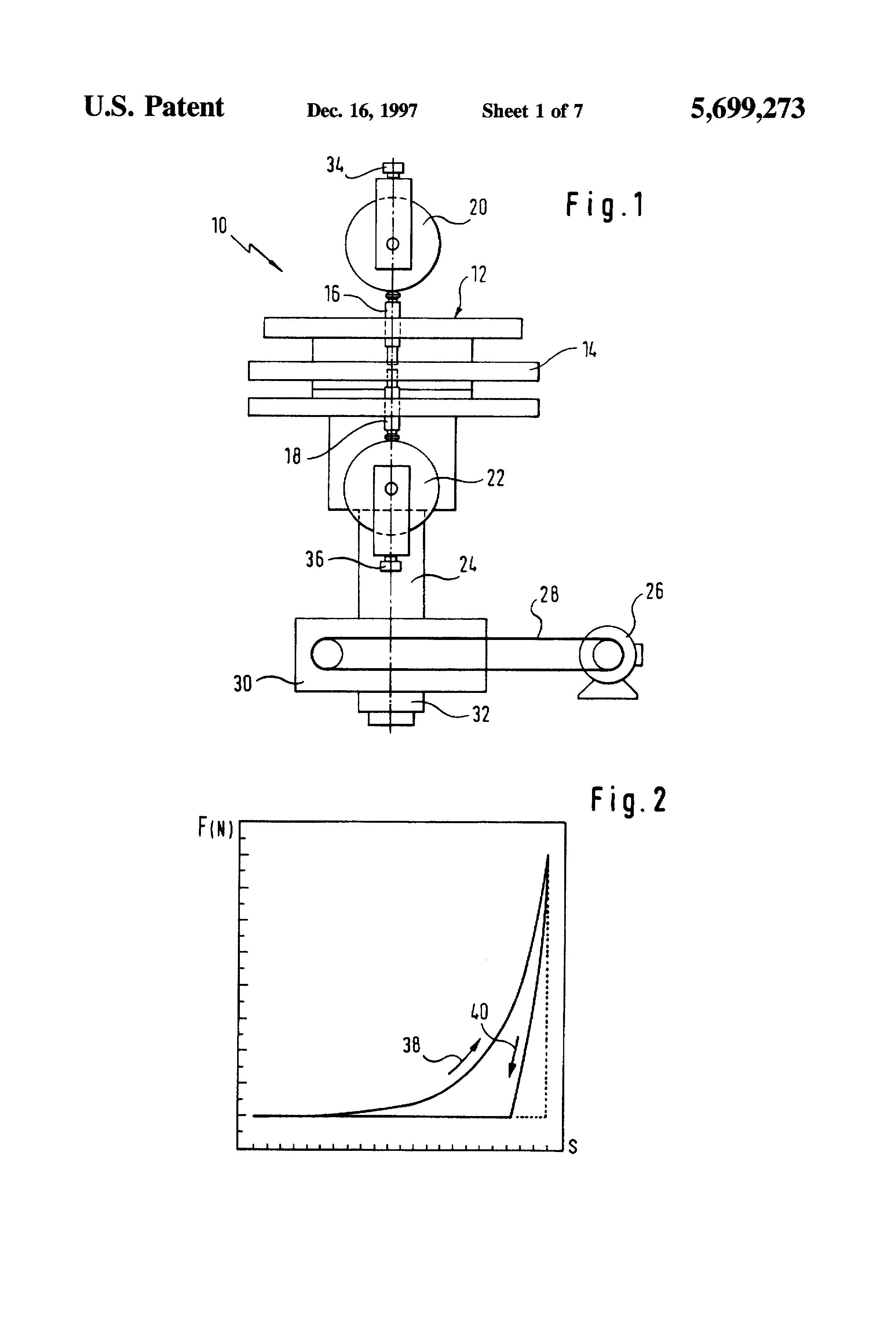
  • Patent Us5699273

  • Patent Us5699273

  • Cam Displacement Diagram 002

  • Distance And Displacement

  • Cams - Profile Design

  • Ppt

  • Problems Based On Cam Profiles Solved

  • Longitudinal Waves Diagram U2014 Untpikapps

  • Cam Nomenclature U0026 Displacement Diagrams

  • 02

  • Cam Nomenclature U0026 Displacement Diagrams

  • Top Representative 2

  • Displacement Vs Distance

  • Displacement

  • Solved Displacement Diagram Of The Knife Edge Follower Is

  • Discuss The Following Motion Of The Follower By Drawing

  • Load

  • Bbc - Higher Bitesize Physics

  • Thinking About Journeys

  • Schematic View Of Acceleration

  • Displacement Diagram For Cam Follower Motion Cam Profile

  • Show Displacement With A Diagram Only Pls Fast

  • File Displacement Psf Png

  • The Relationship Between The Deviation Angle And The

  • 7ing U2019s Weblog

  • The Displacement Diagram Of The Cam Of 31

  • Cam Nomenclature U0026 Displacement Diagrams

  • Soft

  • Cam Displacement Diagram

  • Solved Four Displacement Vectors A B C And D Are Shown

  • Axial Force Diagram Displacements

  • What Is The Difference Between Position Time Graph

  • Cam Displacement Diagram

  • Draw A Diagram To Show The Standing Pressure Wave And

  • Load Vs Displacement Curves Obtained By Experimental

  • Cam Profile Theory

  • Single

  • Distance And Displacement Worksheet

  • Distance And Displacement

  • Distance Vs Displacement What U0026 39 S The Difference U0026 Why It

  • Force

  • Displacement Reactions

  • 6

  • Uniform Acceleration U0026 Retardation

Copyright © 2020 - CETNIEWO2017.VILOGDANSK.EU


1937 Comments