Diagram Database

Posted by on 2020-12-30

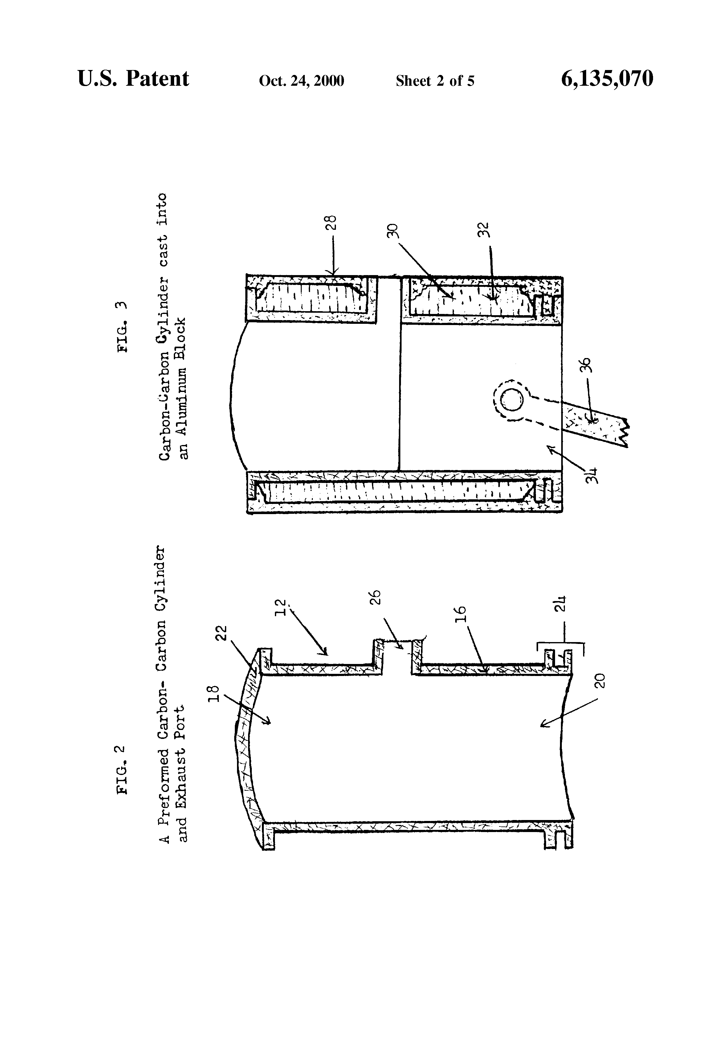
Cat V4 0b Wire Diagram

CETNIEWO2017.VILOGDANSK.EU

Cat V4 0b Wire Diagram

  • Wire Diagram
  • Date : December 30, 2020
  • Downloaded : 6395 times

Cat V4 0b Wire Diagram Whats New

V4 0b

Downloads Cat V4 0b Wire Diagram v40b forklift parts v40b forklift manual v40b forklift v40 boar v40 battery v40 biolox head v40 battery case v40 brush cutter v40 battery life v40 boat v40 biolox v40 battery life lg v 40 br2 a10 t12 90 v 40 br2 a10 t12 10-135 v40eb v 0bn v 0br4m4qeojg v40 thinq v40eb detex v40 mini v40 grenade v40ebv v40 volvo 2020 v4 by nexon v 4 0 30319

  • Johnson 115 V4 Wiring Diagram

  • Wisconsin V4 Engine Diagram

  • Nano Biscotte V4 Wiring Diagram

  • Nano Biscotte V4 Wiring Diagram

  • V4 Engine Diagram

  • Rover V4 Engine Wiring Diagram Di 2020

  • Lightsaber Wiring Diagram

  • V4 Engine Diagram

  • V4 Engine Diagram

  • Cat 5e Wiring Diagram Wall Jack

  • Saab Journal Maintenance U0026 Overhaul Of The V4 Engine

  • Wisconsin V4 Engine Wiring Diagram

  • Wisconsin V4 Engine Wiring Diagram

  • Nano Biscotte V4 Wiring Diagram

  • V4 Engine Diagram

  • York Wiring Diagrams

  • Gt2560 V4 0 Motherboard Wiring Diagram

  • Wisconsin V4 Engine Diagram

  • Lexus V4 Engine Wiring Diagram

  • Lexus V4 Engine Wiring Diagram In 2020

  • Lexus V4 Engine Wiring Diagram In 2020

  • 60 Degree V4 Engine Diagram

  • S8610u Wiring Diagram

  • Nano Biscotte V4 Wiring Diagram

  • Nano Biscotte V4 Wiring Diagram

  • 31 Nano Biscotte V4 Wiring Diagram

  • Wiring Diagram

  • 30 Nano Biscotte V4 Wiring Diagram

  • 60 Degree V4 Engine Diagram

  • Nano Biscotte V4 Wiring Diagram

  • V4 Engine Diagram

  • Wisconsin V4 Engine Diagram

  • Wisconsin V4 Engine Diagram

  • V4 Engine Diagram

  • V4 Car Engine Diagram

  • Yamaha V4 Engine Wiring Diagram Yamaha V4 Engine Wiring

  • Uksaabs U2022 View Topic

  • Wisconsin V4 Engine Diagram

  • Nano Biscotte V4 Wiring Diagram

  • Yamaha V4 Engine Wiring Diagram Yamaha V4 Engine Wiring

  • 31 Nano Biscotte V4 Wiring Diagram

  • Nano Biscotte V4 Wiring Diagram

  • Omc Boat Technical Info

  • Gt2560 V4 0 Motherboard Wiring Diagram - Page 2

  • V4 Car Engine Diagram

  • V4 Car Engine Diagram

  • V4 Engine Diagram

  • V4 Engine Diagram

  • 60 Degree V4 Engine Diagram

  • Nano Biscotte V4 Wiring Diagram

  • Wisconsin Motor Vh4d Firing Order Diagram

  • V4 Engine Diagram

  • 60 Degree V4 Engine Diagram

  • Nano Biscotte V4 Wiring Diagram

  • Nano Biscotte V4 Wiring Diagram

Copyright © 2020 - CETNIEWO2017.VILOGDANSK.EU


1937 Comments