Diagram Database

Posted by on 2020-12-30

Bmw 320d Touring Wiring Diagram

CETNIEWO2017.VILOGDANSK.EU

Bmw 320d Touring Wiring Diagram

  • Wiring Diagram
  • Date : December 30, 2020
  • Downloaded : 6136 times

Bmw 320d Touring Wiring Diagram Whats New

320d Touring

Downloads Bmw 320d Touring Wiring Diagram bmw 320d touring 320d touring

  • Bmw E46 320d Wiring Diagram Pdf

  • Original Parts For E46 320d M47 Touring Engine

  • Original Parts For E46 320d M47 Touring Engine

  • Original Parts For E46 320d M47n Touring Vehicle Trim

  • Original Parts For E46 320d M47 Touring Engine

  • Original Parts For E46 320d M47 Touring Fuel Preparation

  • Original Parts For E46 320d M47 Touring Vehicle

  • Original Parts For E46 320d M47 Touring Engine Cooling

  • 999a5b Bmw 320d Engine Diagram

  • Original Parts For E46 320d M47 Touring Vehicle

  • Bmw E46 Wiring Diagram Download

  • Original Parts For E46 320d M47 Touring Vehicle

  • Original Parts For E46 320d M47n Touring Engine Cooling

  • Bmw 320d E46 Fuse Box Location

  • Original Parts For E46 320d M47 Touring Fuel Preparation

  • Original Parts For E46 320d M47 Touring Fuel Preparation

  • Original Parts For E46 320d M47 Touring Engine Turbo

  • Original Parts For E46 320d M47 Touring Engine Emission

  • Original Parts For E46 320d M47 Touring Engine Engine

  • Original Parts For E46 320d M47n Touring Engine

  • Bmw E46 320d Engine Diagram

  • Bmw E46 Engine Diagram Pdf 7

  • Original Parts For E46 318d M47n Touring Audio

  • Original Parts For E91 320d N47 Touring Engine Turbo

  • Original Parts For E46 320d M47 Touring Fuel Supply

  • Original Parts For E46 320d M47 Touring Audio Navigation

  • Ski Doo Grand Touring Wiring Diagram

  • Bmw 320d E46 Fuse Box Location

  • Original Parts For E46 318i M43 Touring Engine Engine

  • E46 320d 2001

  • Bmw E46 320d Wiring Diagram Pdf

  • E46 Towing Kit Options And Part Numbers

  • E39 Touring Wiring Diagram

  • Rocket Iii Touring Wiring Diagram

  • Bmw E60 Wiring Diagrams

  • Bmw E61 - 5series Net

  • Bmw F30 Speaker Wiring Diagram

  • 999a5b Bmw 320d Engine Diagram

  • Original Parts For E39 530d M57 Touring Engine Cylinder

  • Bmw Starter Wiring Diagram Best Bmw Wiring Another Blog

  • Original Parts For E46 320d M47n Touring Engine Vacuum

  • Ski Doo Grand Touring Wiring Diagram

  • Original Parts For E46 320d M47 Touring Audio Navigation

  • 2013 Chrysler 300 Wiring Diagram

  • Original Parts For E46 330d M57 Touring Engine Vacum

  • Original Parts For E91 320d N47 Touring Engine Engine

  • Original Parts For E46 320d M47 Touring Bodywork Single

  • Bmw E46 Touring Wiring Diagram

  • Original Parts For E46 320d M47 Touring Engine Vacum

  • Original Parts For E39 525tds M51 Touring Engine Intake

  • Original Parts For E46 320d M47n Touring Engine

  • Original Parts For E46 320d M47 Touring Engine Oil Pan

  • Original Parts For E46 320d M47 Touring Engine Belt

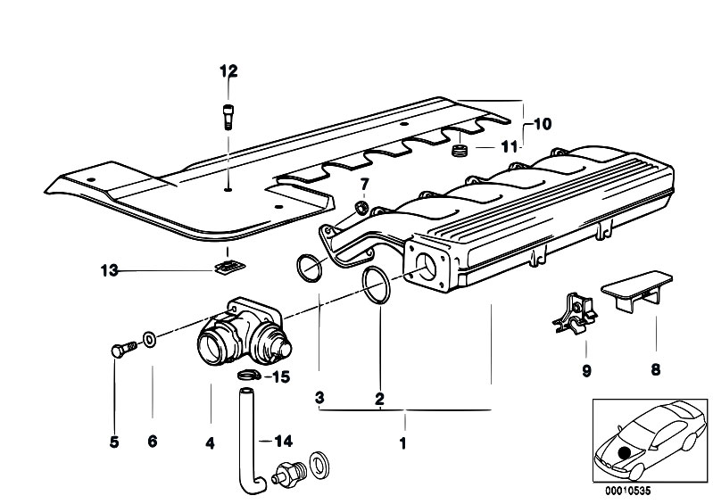
  • Original Parts For E46 320d M47n Touring Engine Intake

  • My Tailgate Glass Wont Open On My Touring Wagon

  • Original Parts For E46 320d M47 Touring Heater And Air

  • Bombardier Skidoo 1998

  • Original Parts For E46 330d M57 Touring Heater And Air

  • Diagram Wiring Pump Ecu Vp44 Bmw M47 E46 320d 136hp

  • Original Parts For E39 540i M62 Touring Engine

Copyright © 2020 - CETNIEWO2017.VILOGDANSK.EU


1937 Comments