Diagram Database

Posted by on 2020-12-30

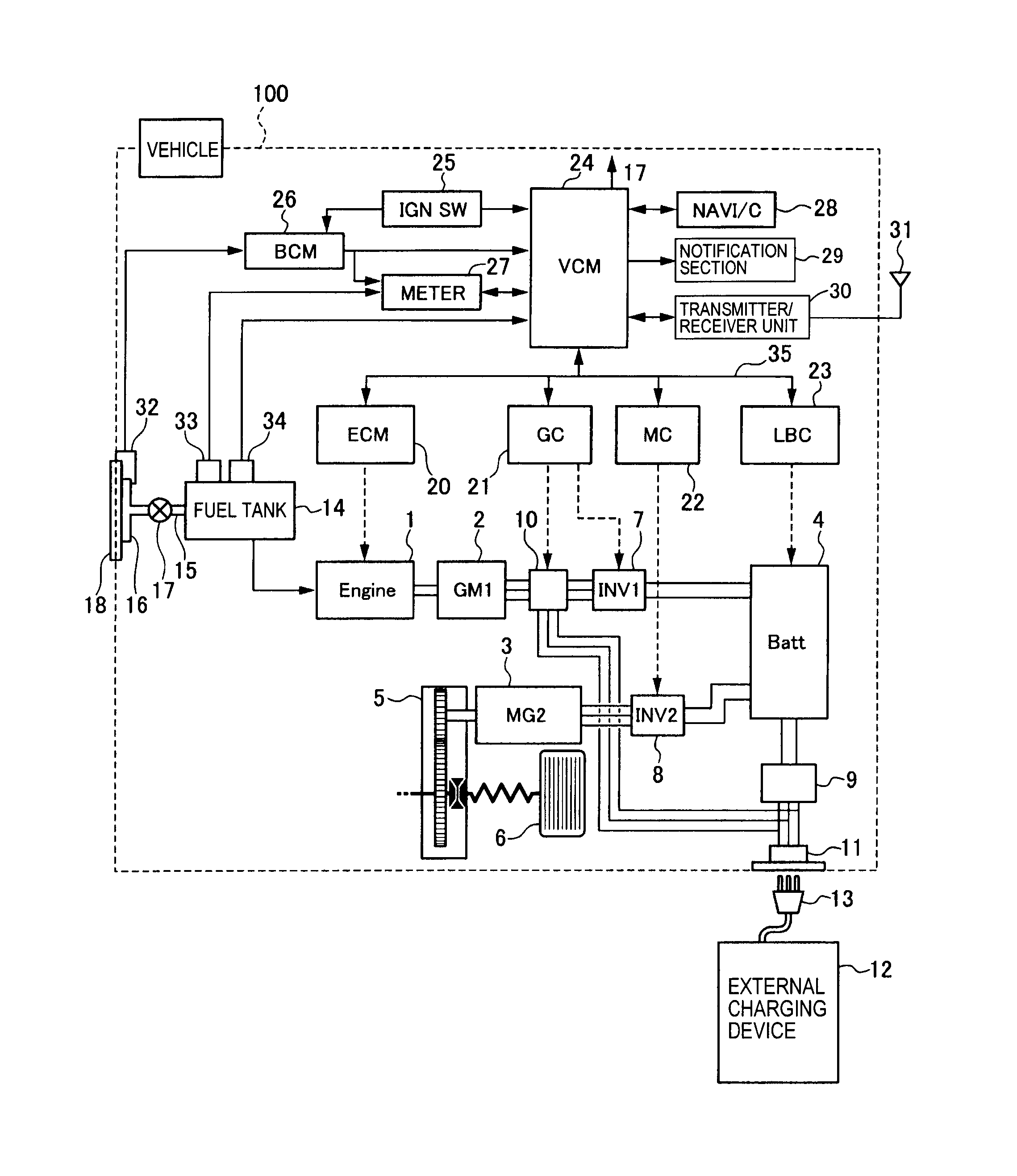
Allister Access 3000 Wiring Diagram

CETNIEWO2017.VILOGDANSK.EU

Allister Access 3000 Wiring Diagram

  • Wiring Diagram
  • Date : December 30, 2020
  • Downloaded : 6438 times

Allister Access 3000 Wiring Diagram Whats New

Access 3000

Downloads Allister Access 3000 Wiring Diagram access 3000 access 3000 login access 3000 message server access 3000 paging terminal access 3000 garage door opener

  • Allister Access 3000 Wiring Diagram

  • Allister Access 3000 Wiring Diagram

  • Allister Access 3000 Wiring Diagram

  • Allister Access 3000 Wiring Diagram

  • Allister Garage Door Openers Type 2a

  • Allister Type Iia Garage Door Opener Troubleshooting

  • Allister Access 200 Garage Door Opener Manual

  • Braeburn Model 3000 Wiring Diagram

  • Taylor Wiring Diagram

  • Full Rfid Door Lock Access Control 3000users Keypad Kit

  • Videx Door Entry Systems Wiring Diagram

  • Honeywell 3000 Thermostat Wiring Diagram Professional

  • Honeywell 3000 Thermostat Wiring Diagram Practical

  • Zkteco K40 Wiring Diagram

  • Allister Access 200 Garage Door Opener Manual

  • Ray Robinson Australian Radios

  • Allister Access 200 Garage Door Opener Manual

  • Remotely Access Your Time Clock With The David

  • Wiring Diagram Microsoft Word

  • Allister Garage Door Openers Manual

  • Allister Access 3000 Garage Door Opener Remote

  • Ford 4000 Wiring Diagram 12v

  • Zkteco K40 Wiring Diagram

  • Wiring Diagram Ford 4000

  • Allister Access 3500 Garage Door Opener Manual

  • Liftmaster Garage Door Opener Wiring Diagram

  • Honeywell 3000 Thermostat Wiring Diagram Most Honeywell

  • 32 Ford 4000 Tractor Wiring Diagram Free

  • 4430 John Deere Wiring Diagram

  • 32 Ford 4000 Tractor Wiring Diagram Free

  • Mc521 Controller Installation And Operation Manual

  • Honeywell 3000 Thermostat Wiring Diagram Most Honeywell

  • Allister Access 3000 Garage Door Opener Remote

  • Allister Access 200 Garage Door Opener Manual

  • Allister Access 3000 Garage Door Opener Remote

  • Wiring Diagram Microsoft Word

  • Videx 4203

  • David

  • Liebert Challenger 3000 Wiring Diagram

  • Grafik Eye 3000 Wiring Diagram

  • Zkteco K40 Wiring Diagram

  • Allister 3000 Garage Door Opener Troubleshooting

  • Videx Smk1s 1 Way Access Control Audio Kit

  • Videx Miscellaneous Wiring Diagrams

  • Wiring Diagram Microsoft Word

  • 32 Ford 4000 Tractor Wiring Diagram Free

  • Electromagnetic Lock Wiring Diagram

  • Bosch B426 Network Reporting Module

  • Allister Access 200 Garage Door Opener Manual

  • Access Control Door Wiring Diagram

  • Videx Door Entry Systems Wiring Diagram

  • Grafik Eye 3000 Wiring Diagram

  • Honeywell 3000 Thermostat Wiring Diagram Brilliant

  • Liebert Challenger 3000 Wiring Diagram

  • Zkteco K40 Wiring Diagram

  • 32 Ford 4000 Tractor Wiring Diagram Free

  • Wiring Diagram Microsoft Word

  • Fingerprint Access Control

  • Liebert Challenger 3000 Wiring Diagram

  • Cm Hoist Wiring Diagram

Copyright © 2020 - CETNIEWO2017.VILOGDANSK.EU


1937 Comments