Diagram Database

Posted by on 2020-12-29

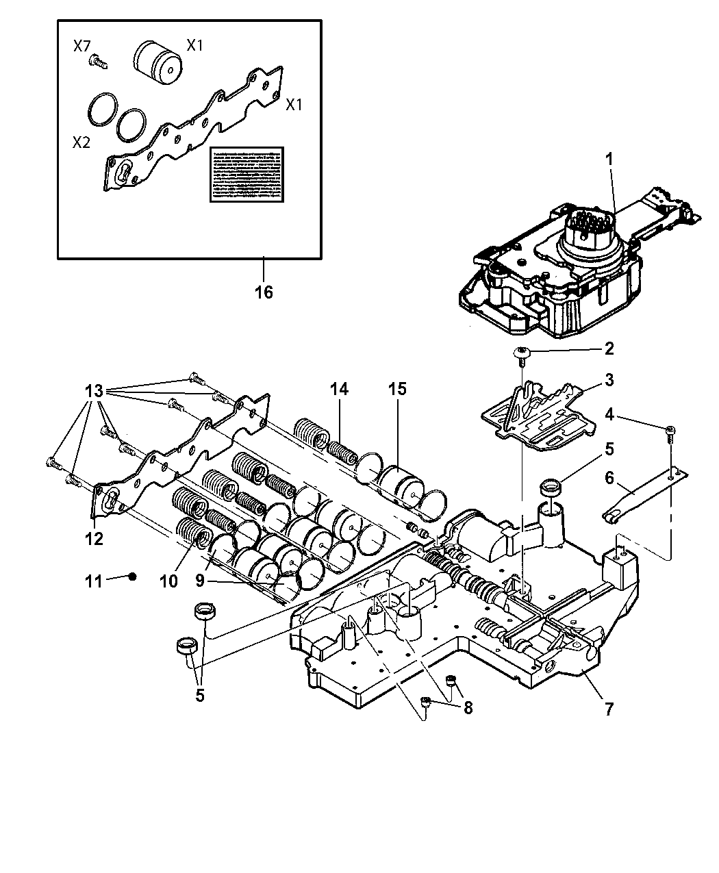
4l60e Valve Body Diagram

CETNIEWO2017.VILOGDANSK.EU

4l60e Valve Body Diagram

  • Body Diagram
  • Date : December 29, 2020
  • Downloaded : 7273 times

4l60e Valve Body Diagram Whats New

Valve

Downloads 4l60e Valve Body Diagram valve valve index valve store valve corporation valve index controllers valverde valve replacement surgery valve definition valve index vr valve games valve vr valve index vr kit valve stems valve vr headset valves of the heart valve index resolution valve cover valve index 2 valve steam valve spring compressor tool valve stem replacement valve index review valve cover gasket replacement valve cover gasket 4l60e valve body diagram 4l60e valve body diagram 1994 4l60e valve body diagram ball placement 2002

  • 2004 Trailblazer 4l60e Transmission If You Can Give Me A

  • I Really Need Some Help From An Experienced Jeep Toyota

  • Need Diagram Of Upper Side Of Valve Body In Chrysler 42le

  • Removed Valve Body Two Springs Came Out Cannot Determine

  • Caution Do Not Allow Valve Body Plate To Separate From

  • I Am Installing A New Trans Solenoid On 97 Dodge Intrepid

  • 1988 Ford Ranger Xlt 4x4 Automatic Transmission Will Not

  • How Do You R U0026r The Transmission Valve Body In A 99 Tahoe

  • I Need A Valve Body Diagram For A 1990 Corvette 700r4 I

  • Rl108213ab

  • Diagram - Which Shift Solenoid Is U0026quot D U0026quot

  • Transmission Valve Body Components - Rennlist

  • 4t65e Transmission 2003 Impala Valve Body Schematics

  • 3529021010

  • 04800171aa

  • 3533008010

  • 68002342af

  • 2010 Toyota Tundra Automatic Transmission Control Solenoid

  • 52854222aa

  • Valve Body U0026 Oil Strainer Atm A245e A246e Illust No 1

  • Transmission Repair Manuals Zf 4hp22 4hp24

  • Transmission Valve Body Reassembly Pieces Parts U2014 Car

  • 24254145

  • 5143151aa

  • R2854241aa

  • I Am Looking For A Valve Body Diagram For A 1985 Bronco Ii

  • Need Exploded View Diagram Of The Valve Body 1998 Grand

  • How Do You R U0026r The Transmission Valve Body In A 99 Tahoe

  • What Is A Valve Body

  • Transmission Repair Manuals Axod Axod Ax4s

  • 2011 Dodge Ram 5500 Solenoid Transmission Body

  • 29536833

  • 4r70w Exploded View

  • Solved Diagram Of A Completely Disassembled Valve Body Fo

  • 29536833

  • Valve Body

  • Transmission Repair Manuals Jf015e Re0f11a Cvt7

  • Gm Automatic Transmission Diagrams

  • Technical Shift Kit Install Questions - Ls1tech

  • 4t65e Transmission 2003 Impala Valve Body Schematics

  • C4 Valve Body Diagram Needed

  • Does A 91 Chevy Silverado 1500 Have A Fuse For The

  • C4 Valve Body Question

  • Caution Do Not Allow Valve Body Plate To Separate From

  • 1994 Chevy 1500 4x4 5 7 Automatic Transmission Why Does My

  • Sonnax Identifying Allison 1000 2000 2400 Valve Bodies

  • 10 Best Images About Gm 4l60e Valve Body Information On

  • Sonnax Remanufactured Valve Body

Copyright © 2020 - CETNIEWO2017.VILOGDANSK.EU


1937 Comments