Diagram Database

Posted by on 2020-12-30

35 Hp Evinrude Parts Diagrams

CETNIEWO2017.VILOGDANSK.EU

35 Hp Evinrude Parts Diagrams

  • Parts Diagrams
  • Date : December 30, 2020
  • Downloaded : 6064 times

35 Hp Evinrude Parts Diagrams Whats New

Hp Evinrude

Downloads 35 Hp Evinrude Parts Diagrams 40 hp evinrude evinrude 3.3 hp outboard evinrude 40 hp outboard evinrude 60 hp 200 hp evinrude e-tec 2013 review

  • 40 Hp Evinrude Parts Diagram

  • New Page 1 Inside 40 Hp Evinrude Parts Diagram

  • Evinrude Exhaust Housing Parts For 2001 115hp E115fslsif

  • Evinrude Powerhead Group Parts For 1969 18hp 18902d

  • Evinrude Ignition System Parts For 1973 65hp 65373r

  • 15 Hp Evinrude Parts Diagram

  • Evinrude Ignition System Parts For 1982 50hp E50belcnr

  • Evinrude Carburetor

  • Evinrude Distributor Group Parts For 1970 60hp 60073b

  • Evinrude Ignition System Parts For 1978 70hp 70873c

  • 40 Hp Evinrude Parts Diagram

  • Evinrude Midsection

  • 15 Hp Evinrude Parts Diagram

  • Evinrude Exhaust Housing

  • Evinrude Outboard Parts By Hp 25hp Oem Parts Diagram For

  • Evinrude Outboard Parts By Hp 25hp Oem Parts Diagram For

  • Evinrude Carburetor Parts For 1974 15hp 15404s Outboard Motor

  • I Have 150 Hp Evinrude Te150gletg That Is Not Charging Is

  • Evinrude 15 Hp Parts Diagram

  • Purchase A3a745 1965 33 Hp Evinrude Mounting Bracket

  • 1971 50 Hp Evinrude Gear Case

  • Evinrude 15 Hp Parts Diagram

  • Evinrude Engine Cover

  • Evinrude Rewind Starter Parts For 1992 15hp E15renm

  • Johnson Boat Motor Parts Diagram

  • Evinrude Remote Control Parts For 1995 150hp E150wtleor

  • Evinrude Midsection

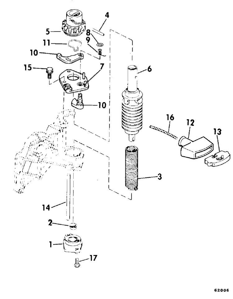
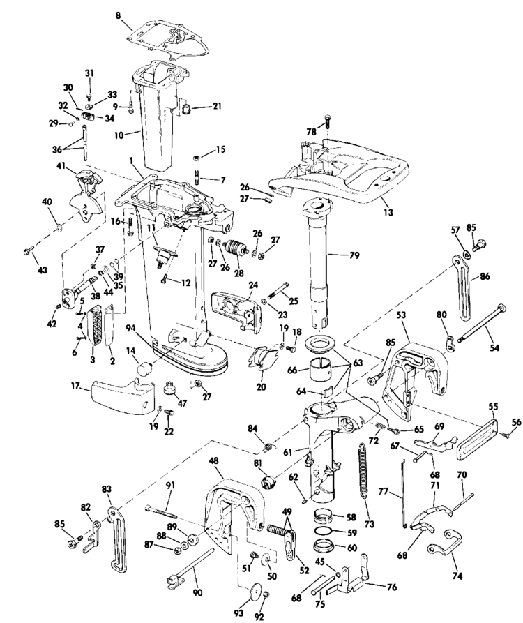
  • Evinrude 1977 35 - 35753h Gearcase35 Hp

  • Oem Evinrude Oem Parts

  • Motor Parts January 2016

  • I Have A Evenrude 115 Hp 1977 Serial 3 115793s It Start

  • Johnson Gearcase Parts For 2006 15hp J15rsdr Outboard Motor

  • Evinrude Outboard Parts By Year 1987 Oem Parts Diagram For

  • Magneto Parts For 1976 25hp 25r76e Outboard Motor

  • Evinrude Outboard Parts By Year 1996 Oem Parts Diagram For

  • Evinrude Motor Cover Parts For 1978 15hp 15804b Outboard Motor

  • Johnson Ignition System 60ttl Parts For 1990 60hp

  • Evinrude Outboard Parts By Hp 40hp Oem Parts Diagram For

  • Evinrude Magneto Group Parts For 1969 4hp 4906b Outboard Motor

  • Evinrude Ignition System Parts For 1988 50hp E50beccs

  • Evinrude Outboard Parts By Hp 9 9hp Oem Parts Diagram For

  • Evinrude 15hp Manual

  • Evinrude Ignition Parts For 1987 30hp E30rlcub Outboard Motor

  • Evinrude Ignition Parts For 1991 30hp E30teeic Outboard Motor

  • Motor Parts January 2016

  • Johnson Rewind Starter 8 Parts For 1984 6hp J6rcrm

  • Evinrude Gearcase Parts For 1974 6hp 6402c Outboard Motor

  • Evinrude Outboard Parts By Year 1981 Oem Parts Diagram For

  • Evinrude Rewind Starter Parts For 1976 6hp 6604a Outboard

  • 15 Hp Evinrude Parts Diagram

Copyright © 2020 - CETNIEWO2017.VILOGDANSK.EU


1937 Comments