Diagram Database

Posted by on 2020-12-29

2011 Honda Insight Engine Diagram

CETNIEWO2017.VILOGDANSK.EU

2011 Honda Insight Engine Diagram

  • Engine Diagram
  • Date : December 29, 2020
  • Downloaded : 7070 times

2011 Honda Insight Engine Diagram Whats New

Honda Insight

Downloads 2011 Honda Insight Engine Diagram honda insight honda insight review honda insight 2021 honda insight 2020 honda insight hybrid honda insight incentives honda insight reliability honda insight image honda insight vs accord honda insight for sale honda insight 2010 mpg honda insight 2019 honda insight 4wd honda insight 2010 honda insight 2018 honda insight 2006 honda insight app honda insight reviews 2021 honda insight hybrid mpg honda insight reviews 2020 honda insight ima light on honda insight 2010 engine oil honda insight wiki honda insight 2010 engine oil capacity honda insight mpg

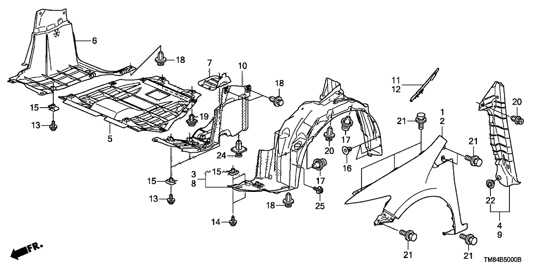
  • 35 Honda Insight Parts Diagram

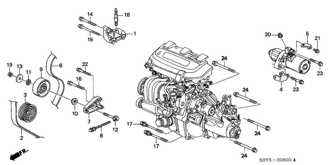
  • 2010 Honda Insight 5 Door Ex Navigation Kl Cvt Cylinder

  • 74111-tm8-a10

  • 2000 Honda Insight 3 Door Dx A C Ka 5mt Engine Cover

  • 35 Honda Insight Parts Diagram

  • 1k000-phm-030

  • 38942-pwa-004

  • O2 Sensors On 2001 Cvt - Ordered From Amazon

  • Honda Insight 2010

  • Spark Plugs Replacement How Do I Change The Spark Plugs

  • Honda Insight Wiring Diagram

  • Honda Insight 2011

  • Honda Insight 2011

  • 2000 Honda Insight Low Switch Circuit Repair Method

  • Honda Insight 2002 U2013 Fuse Box Diagram U2013 Circuit Wiring

  • Honda Insight Fuse Box

  • Honda Insight 2000 - 2006 - Fuse Box Diagram

  • Honda Insight 2000 - 2006 - Fuse Box Diagram

  • Honda Insight 2010

  • Electricity

  • Honda Insight 2003 - Fuse Box Diagram

  • 33 2000 Honda Civic Belt Diagram

  • Honda Outboard Motor Parts List

  • 2006 Honda Insight Front Engine Fuse Box Diagram U2013 Circuit

  • Fuse Box Diagram Honda Insight 2010

  • Honda Insight 2011 2012 2013 Repair Manual

  • Honda Insight - Service Manual Repair Manual

  • 2011 Honda Insight 5 Door Dx Kl Cvt Engine Cover

  • 2010 Mini Cooper Fuse Box Diagram

  • Subaru Tribeca Engine Diagram Subaru Tribeca Engine

  • 60100-tm8-a90zz

  • Honda Insight - Service Manual Repair Manual

  • Subaru Ascent Di 2020 Dengan Gambar

  • 1999 Honda Accord Aftermarket Parts User Manual

  • Genuine Honda Insight 2019 2020 Engine Air Filter17220

  • Advisor Help On Honda Insight Model

  • 2019 Honda Insight 4 Door Ex Ka Cvt Engine Mounts

  • 35 Honda Insight Parts Diagram

  • 2004 Honda Insight 3 Door Dx A C Ka 5mt Engine Assy

  • 2010 Honda Insight 5 Door Ex Kl Cvt Engine Block Heater

  • By 8043 2009 Honda Civic Transmission Diagram Wiring Diagram

  • 2010

  • Honda Oem 10

  • 4 Honda Accord Sport In 2020

  • Honda Insight 2000 - 2006 - Fuse Box Diagram

  • 2005 Honda Insight 3 Door Dx A C Ka 5mt Engine Mounts

  • 35 Honda Insight Parts Diagram

  • Fuse Box Diagram Honda Insight 2010

  • Wire Harness U2013 Circuit Wiring Diagrams

  • Honda Insight 2010 Owner U0026 39 S Manual U2013 Pdf Download

  • 1a810-pza-000

  • 2011 Honda Insight 5 Door Ex Navigation Ka Cvt Engine Mounts

Copyright © 2020 - CETNIEWO2017.VILOGDANSK.EU


1937 Comments