Diagram Database

Posted by on 2020-12-30

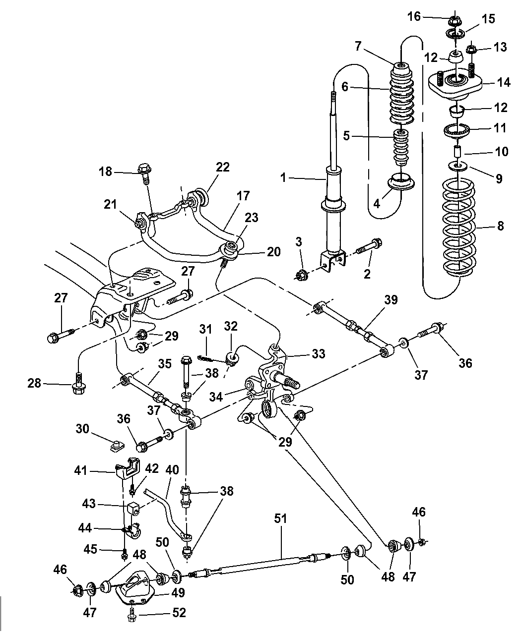
2005 Dodge Stratus Rear Suspension Parts Diagram

CETNIEWO2017.VILOGDANSK.EU

2005 Dodge Stratus Rear Suspension Parts Diagram

  • Parts Diagram
  • Date : December 30, 2020
  • Downloaded : 6567 times

2005 Dodge Stratus Rear Suspension Parts Diagram Whats New

Dodge Stratus Rear Suspension

Downloads 2005 Dodge Stratus Rear Suspension Parts Diagram 2005 dodge stratus rear suspension diagram rear suspension diagram 2002 dodge stratus 2004 dodge stratus rear suspension 2004 dodge stratus rear suspension diagram

  • Dodge Stratus Knuckle

  • Rear Suspension For 1996 Dodge Stratus Parts

  • Rear Suspension For 2005 Dodge Stratus

  • Rear Suspension For 2005 Dodge Stratus

  • Dodge Stratus Ball Joint Upper Control Arm Front Upper

  • 4895050ac

  • 1996 Dodge Stratus Suspension - Rear

  • Dodge Stratus Spring Rear Coil Red Green

  • Dodge Stratus Bolt Arm Control

  • Dodge Stratus Suspension Subframe Crossmember Rear

  • Dodge Stratus Strut All Models All W Bracket

  • Dodge Stratus Nut Rear Suspension Rear Suspension Assist

  • Dodge Stratus Bushing K Collar Rear Spring Sleeve 2wd

  • Dodge Stratus Sealer Gasket Cover Pan Upper

  • Dodge Stratus Abs Wheel Speed Sensor Brakes Drum Disc

  • Dodge Stratus Bolt Brake Caliper Disc 2wd Disc 4wd

  • Dodge Stratus Shock Absorber Suspension Rear

  • Chrysler Rear Suspension Arm And Related Parts

  • 2005 Dodge Stratus Front Suspension Arm And Related Parts

  • Dodge Stratus Suspension Control Arm Bushing 3 0 Liter

  • Dodge Stratus Suspension Ball Joint Upper

  • Independent Rear Suspension Diagram

  • Dodge Stratus Ball Joint Shield Cover Heat Shield

  • Dodge Stratus Bracket Shock Absorber Right

  • 2001 Dodge Shim Tow Link To Frame 6u 6u Toe

  • 4695034

  • Dodge Stratus Nut Arm Control Fork Suspension Sedan

  • Chrysler Sebring Link Stabilizer Bar Kit Suspension

  • Dodge Stratus Shock Absorber Suspension Rear

  • Dodge Stratus Shock Absorber Suspension Rear

  • Dodge Stratus Spring Rear Coil

  • Dodge Stratus Spring Rear Coil

  • Dodge Stratus Link Rear Toe

  • Oem Left Side Rear Upper Control Arm 2004

  • Kyb U00ae

  • Dodge Stratus Crossmember Rear Suspension

  • 2004 Chrysler Sebring Rear Suspension Diagram

  • 06503733

  • 2004 Chrysler Sebring Rear Suspension Diagram

  • Dodge Stratus Bracket Cable

  • Dodge Stratus Cap Suspension Strut Mount

  • Dodge Stratus Suspension Subframe Crossmember Rear Sedan

  • Dodge Stratus Strut All Models All W Bracket

  • 2004 Dodge Stratus Engine Diagram

  • Dodge Stratus Suspension Subframe Crossmember Rear

  • Dodge Stratus Shock Absorber Suspension Rear After 11

  • 2001 Dodge Bumper Suspension Jounce Ecc Edz Ee0

  • 1997 Dodge Stratus Shaft - Front Drive

Copyright © 2020 - CETNIEWO2017.VILOGDANSK.EU


1937 Comments