Diagram Database

Posted by on 2020-12-30

06 Sonata Battery Wiring Diagram

CETNIEWO2017.VILOGDANSK.EU

06 Sonata Battery Wiring Diagram

  • Wiring Diagram
  • Date : December 30, 2020
  • Downloaded : 6388 times

06 Sonata Battery Wiring Diagram Whats New

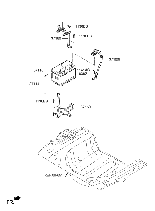
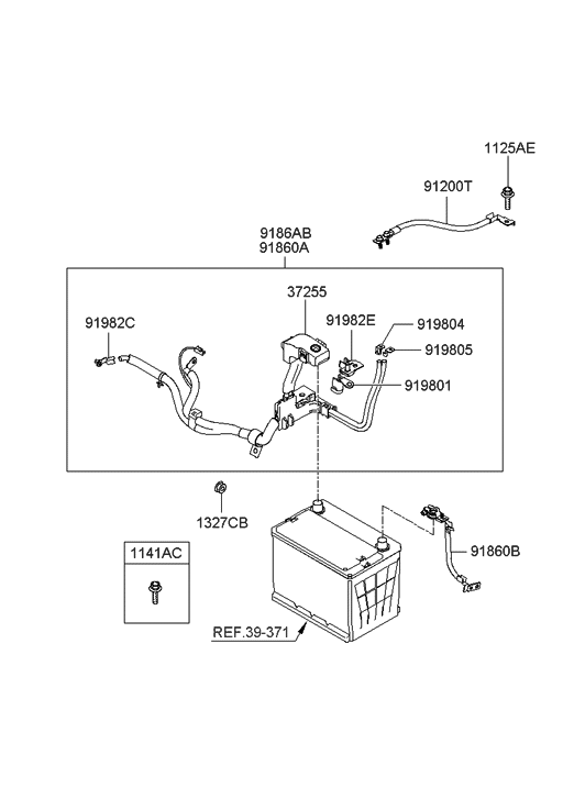
Sonata Battery

Downloads 06 Sonata Battery Wiring Diagram sonata battery sonata battery change sonata battery drain sonata battery problems sonata battery replacement sonata battery drain problem sonata battery light flashing sonata battery discharge warning

  • 91860-3k020

  • 91850-c2010

  • 2016 Hyundai Sonata Battery Cable Positive Cable Wiring

  • 91860-4r120

  • 91860-3s510

  • 2005 Hyundai Sonata Battery

  • My Alternator Went Out In My 2003 Sonata I First Replaced

  • 06 Sonatum Battery Wiring Diagram

  • 2010 Hyundai Sonata Cap

  • 37586-4r001

  • I Have A 2004 Sonata That Is Jumping Spark From The Coils

  • 2011 Hyundai Sonata Won U0026 39 T Engage How Can I Fix This

  • 91400-3q020

  • 91971-e6010

  • Wiring Diagrams 2017 Hyundai Sonata

  • Hyundai Sonata Wiring Diagram

  • 37575-e6610

  • Has No Spark Autozone Said U0026quot Crank Shaft Positioning

  • 1997 Hyundai Sonata Radio Wiring Diagram

  • 2003 Hyundai Sonata Radio Wiring Diagram

  • Wiring Diagram 2011 Hyundai Sonata Map Sensor Connector

  • Honeywell R8184g4009 Wiring Diagram

  • Hyundai Sonata Nf 2005 2013 Engine Electrical System

  • 2006 Hyundai Sonata Alternator

  • Repair Guides

  • Xg30 Not Charging Garage Replaced Alternator No

  • 918503k110 - Hyundai Wiring Assembly

  • 918503k110 - Hyundai Wiring Assembly

  • 1141506167b

  • Alternator Electrical Diagram Please

  • 2012 Hyundai Elantra Multi Fuse Hybrid Electrical

  • 847278e Hyundai Brakes Diagram

  • Hyundai Sonata Hybrid 2016 U2013 Fuse Box Diagram U2013 Circuit

  • 2011 Hyundai Sonata Radio Wiring Diagram

  • 2005 Hyundai Sonata Electrical Troubleshooting Manual Original

  • 2004 Hyundai Sonata Wiring Diagram Collection

  • Repair Guides

  • Repair Guides

  • Hyundai Sonata Audio Remote Control Schematic Diagrams

  • Hyundai Car Radio Stereo Audio Wiring Diagram Autoradio

  • 91860-2f020

  • Hyundai Sonata 2016 U2013 Fuse Box Diagram U2013 Circuit Wiring

  • Seatbelt And Battery Light Blinking What On Earth Is

  • Hyundai Sonata Schematic Diagrams

  • Stereo Wiring Diagram

  • 2006 Hyundai Sonata Battery Cable

  • 91850-3k010

  • Hyundai Sonata Plug

  • Hyundai Sonata Power Window Switch Schematic Diagrams

  • Hyundai Sonata Nf 2005 2013 Engine Electrical System

  • Stereo Wiring Diagram

  • 2001 Hyundai Xg300 Wiring

  • Need A Wiring Installation Manual For An Mp3 Cd Player

  • 2003 Hyundai Sonata Radio Wiring Diagram

  • Repair Guides

  • I U0026 39 M Working On A 2002 Sonata The Airbag Light Is On Code

  • 91856-g7000

Copyright © 2020 - CETNIEWO2017.VILOGDANSK.EU


1937 Comments